EasyManua.ls Logo

Robe 575 AT - Rigging Methods; Omega Holder Fixation; Installation Safety Approvals

Robe 575 AT
33 pages
Print Icon
To Next Page IconTo Next Page
To Next Page IconTo Next Page
To Previous Page IconTo Previous Page
To Previous Page IconTo Previous Page
Loading...
10
11
For overhead use, always install a safety-rope that can hold at least 10 times the weight of the xture. You must
only use safety-ropes with screw-on carabines. Pull the safety-rope through the two apertures on the bottom of
the base and over the trussing system etc. Insert the end in the carabine and tighten the xation screw.
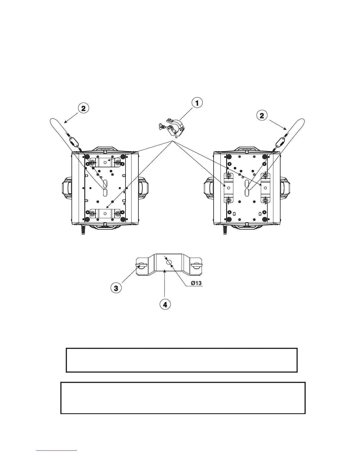
Fixation via the omega holders
1.Bolt each clamp (1) to the omega holder (4) with M12 bolt and lock nut through the hole in the holder.
2.Fasten the omega holders on the bottom of the base by inserting both quick-lock fasteners (3) into the holes
of the base and tighten fully clockwise.
3.Fasten the safety-rope (2) through the two apertures on the bottom of the base and over the trussing sys-
tem.
When installing xtures side-by-side,
avoid illuminating one xture with another!
DANGER TO LIFE!
Before taking into operation for the rst time,the installation has to be ap-
proved by an expert!
1-Clamp
2-Safety-rope
3-Quick-lock fastener
4-Omega holder

Related product manuals