EasyManua.ls Logo

Robe ROBIN MegaPointe Wireless DMX - Page 11

Robe ROBIN MegaPointe Wireless DMX
59 pages
Print Icon
To Next Page IconTo Next Page
To Next Page IconTo Next Page
To Previous Page IconTo Previous Page
To Previous Page IconTo Previous Page
Loading...
11
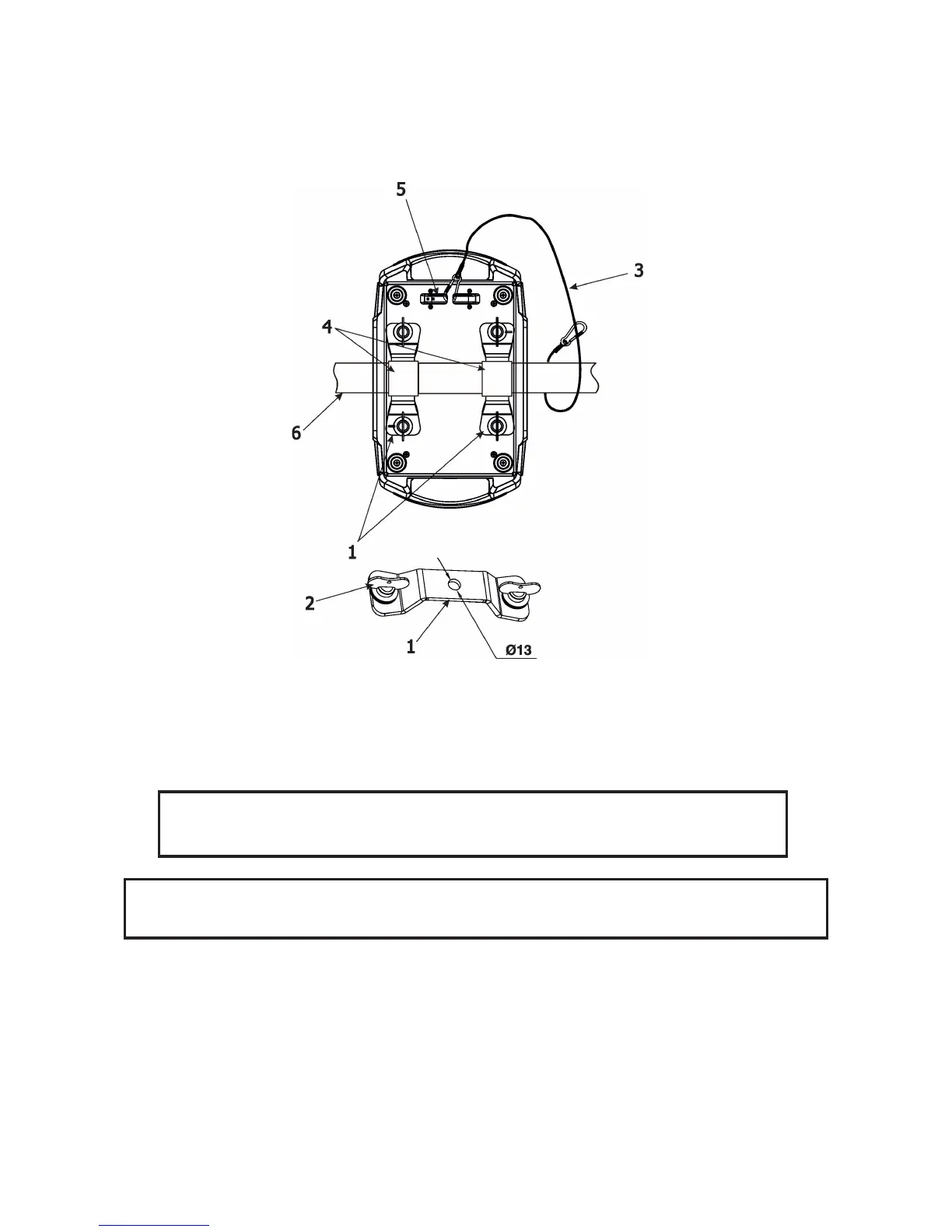
Truss installation
1.Bolt clamps (4) to the brackets Omega CL (1) with M12 bolts and lock nuts through the hole in the bracket
Omega CL.
2.Fasten the brackets Omega CL on the bottom of the base by means of the quick-lock fasteners (2) and tighten
them fully clockwise.
3. Fasten the safety cable in the attachment point (5) and around the truss (6) as shown on the picture below.
When installing xtures side-by-side,
avoid illuminating one xture with another!
In order to protect the internal parts of the head from the sun, the function
HOME POSITION must be switched ON before switching the xture o󰀨.
The HOME POSITION function is located on the Power/Special functions channel (120-129 DMX). If the func-
tion is on, the xture will automatically detect via G-sensor whether the xture is on the oor or hangs on the
truss or is mounted sideways on the truss and moves the pan and tilt to the position (including movement of
zoom and focus lenses to the front part of the head) in which the front lens of the head will always face down.
Owing this position of the xture head, there is not chance to burn internal parts of the head by the sun light.
1-Mounting bracket Omega CL
2-Quick-lock fasteners
3-Safety wire
4-Clamps
5-Attachment point
6-Truss

Related product manuals