EasyManua.ls Logo

Robot Coupe R5 Plus - Page 14

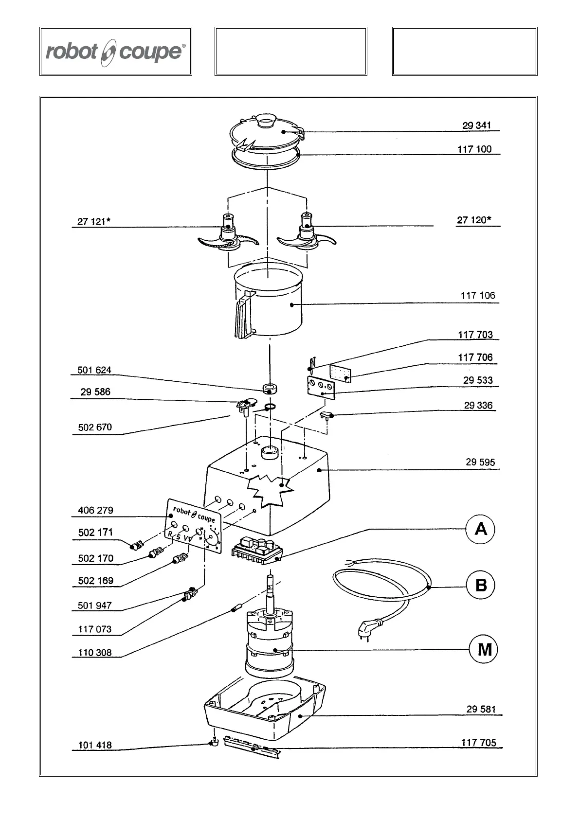
Robot Coupe R5 Plus
28 pages
Print Icon
To Next Page IconTo Next Page
To Next Page IconTo Next Page
To Previous Page IconTo Previous Page
To Previous Page IconTo Previous Page
Loading...
14
03/ 1999
R 5 V.V. A
* voir tarif machines / See export price list

Related product manuals