EasyManua.ls Logo

Ropam elektronik BasicGSM 2 - Page 45

Default Icon
83 pages
Print Icon
To Next Page IconTo Next Page
To Next Page IconTo Next Page
To Previous Page IconTo Previous Page
To Previous Page IconTo Previous Page
Loading...
Page 41
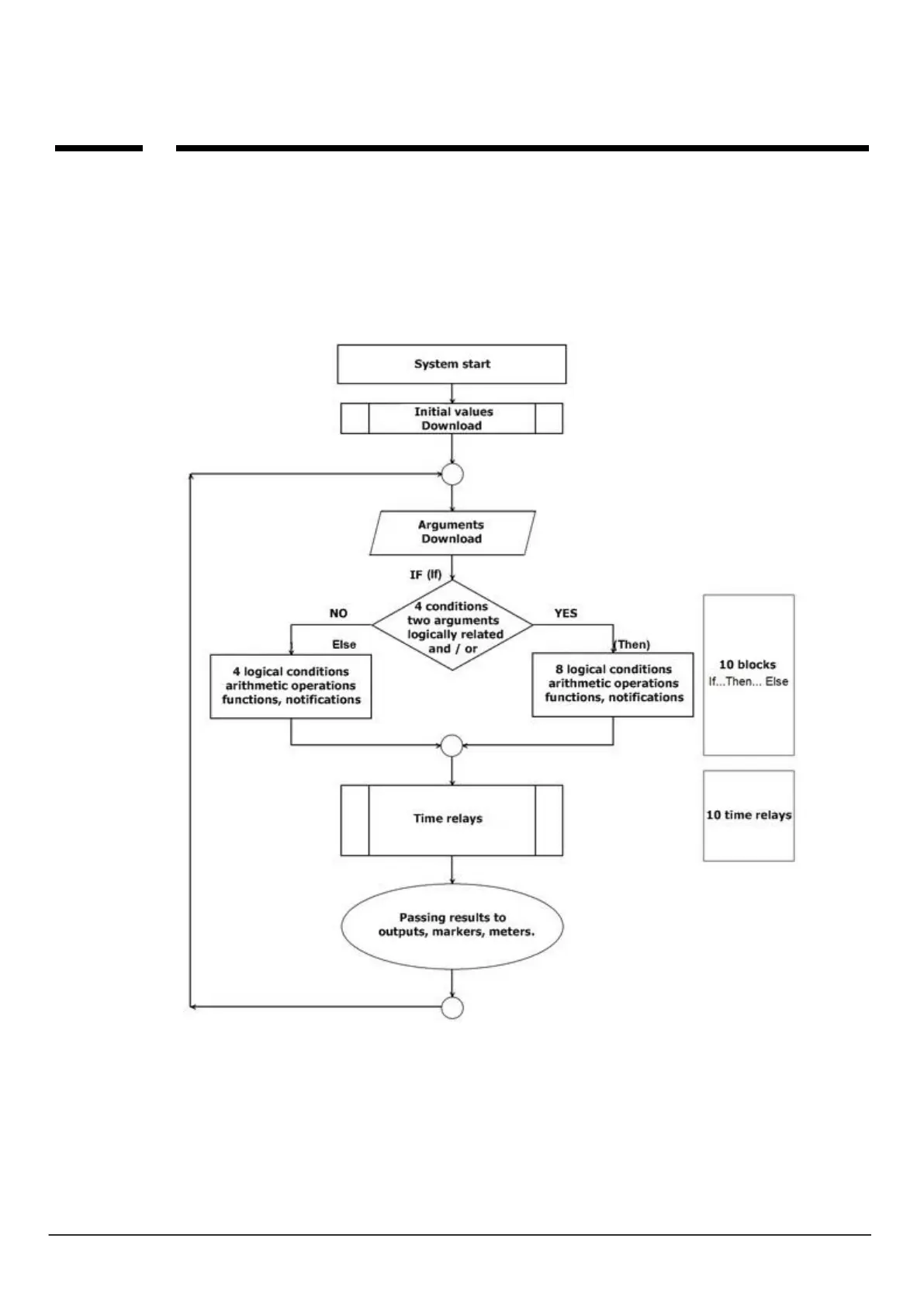
System configuration
© 2017 Ropam Elektronik
WARNING:
Functions are performed in the loop according to the scheme. Used physical outputs (results
of functions) in LogicProcessor can`t be triggered by other events than the LP in the 'outputs'
tab bacause they will be overwritten by logic functions. All logic and time functions for
physical outputs must be implemented in LogicProcessor, the result of the function is not
considered as output trigger.

Table of Contents