EasyManua.ls Logo

Ropam elektronik BasicGSM 2 - Connecting Devices to the Outputs

Default Icon
83 pages
Print Icon
To Next Page IconTo Next Page
To Next Page IconTo Next Page
To Previous Page IconTo Previous Page
To Previous Page IconTo Previous Page
Loading...
Page 14
Installation and commissioning
© 2017 Ropam Elektronik
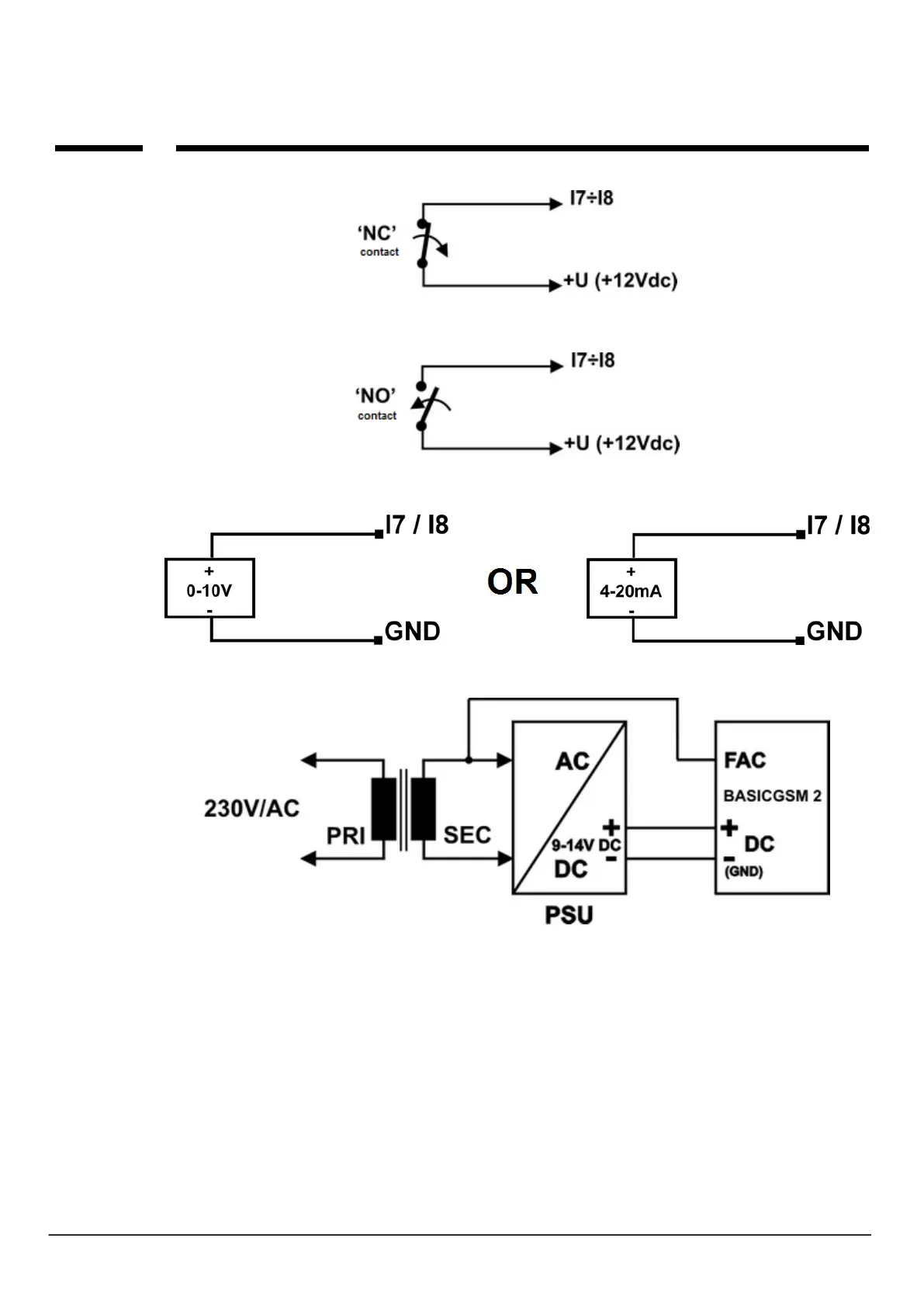
Input (I7, I8) in the configuration NC, software configurable (BasicGSM Manager).
Input (I7, I8) in the configuration: NO, configurable software (BasicGSM Manager).
Input I7 / I8 to connect a voltage or current source.
FAC input for AC voltage control (on isolation transformer).
Connecting devices to the outputs.
The module has outputs allowing control and signaling.
O1 - relay output - 1A @ 30VDC

Table of Contents