EasyManua.ls Logo

Ruris DAC 310 - Eksploatacja Podkaszarki Na Ramię

Default Icon
156 pages
Print Icon
To Next Page IconTo Next Page
To Next Page IconTo Next Page
To Previous Page IconTo Previous Page
To Previous Page IconTo Previous Page
Loading...
PL
15
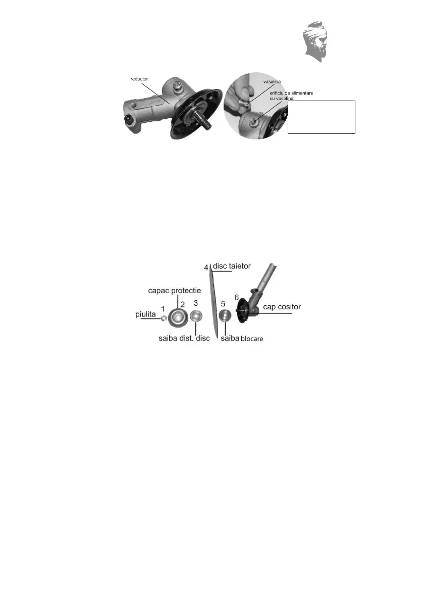
Montaż tarczy tnącej lub cięcia automatycznego odbywa się prawidłowo,
zgodnie z informacjami podanymi w rozdziale:
Montaż-demontaż tarczy tnącej i automatyczne cięcie.
Uwaga! Podczas montażu tarczy tnącej, użyj kołka blokującego, aby odkręcić nakrętkę
mocującą zgodnie z ruchem wskazówek zegara. Po zamontowaniu tarczy tnącej należy
upewnić się, że nakrętka jest dokręcona, a tarcza tnąca dobrze zamocowana,
wypoziomowana i pozbawiona odkształceń lub pęknięć na jej powierzchni.
Rys 1.1
Skrzynia biegów jest uruchamiana poprzez maksymalne wciśnięcie wigni
gazu.
Sprawdź, czy osłona jest prawidłowo zamontowana.
Uzupełnij paliwo do podkaszarki.
9. EKSPLOATACJA PODKASZARKI NA RAMIĘ
Podkaszarki spalinowe na ramię DAC to produkty, które pozwalają w łatwy sposób
wybrać tryb koszenia, bez wykonywania kolejnych manewrów regulacyjnych czy
konserwacyjnych. Kosiarki DAC twor z użytkownikiem jedną całość i zapewniają
maksymalny komfort oraz perfekcyjną obsługę.
Wazelina
Otwór dla dolewania
wazeliny

Related product manuals