EasyManua.ls Logo

Salora 19LED7010TW - Zijdelingse Aansluitingen; Stroomaansluiting

Salora 19LED7010TW
Print Icon
To Next Page IconTo Next Page
To Next Page IconTo Next Page
To Previous Page IconTo Previous Page
To Previous Page IconTo Previous Page
Loading...
Nederlands - 8 -
VGA-ingang dient4. om een computer met het TV toestel te verbinden. Verbind de PC-kabel tussen
de PC INVOER op de TV en de PC uitvoer op uw PC.Opmerking: U kunt YPbPr naar VGA kabel (niet
geleverd) gebruiken om het YPbPr signaal in te schakelen via VGA ingang. WAARSCHUWING: U kunt
VGA en YPbPr niet gelijktijdig gebruiken.
SPDIF uit voert geluidsignalen uit naar de huidig weergegeven bron. Gebruik een SPDIF kabel om 5.
geluidsignalen over te dragen naar een toestel met een SPDIF-ingang.
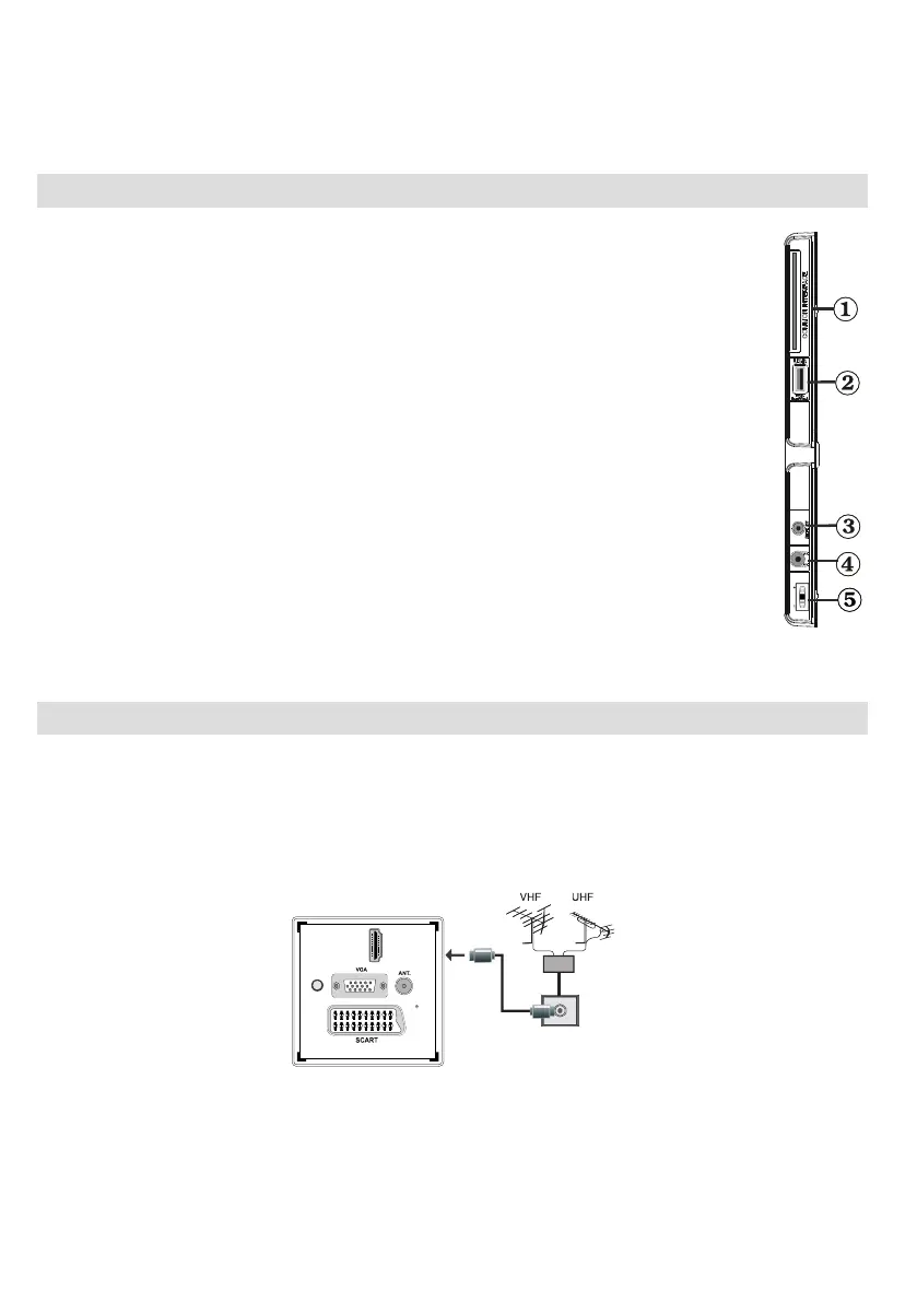
Zijdelingse aansluitingen
CI-Slot (CI-sleuf) wordt gebruikt om een CI-kaart in te brengen. Met een CI-kaart 1.
kunt u alle kanalen waarop u geabonneerd bent bekijken. Raadpleeg het hoofdstuk
“Voorwaardelijke toegang” voor meer informatie..
Side USB input (zijdelingse USB-ingang).2.
Zijde audio-video verbinding 3. ingang wordt gebruikt voor de aansluiting van video en
audio signalen van externe toestellen. Om een videoverbinding te maken, moet u de
gevelerde AV verbindingskabel gebruiken om de verbinding in te schakelen. Voer eerst
de enkele aansluiting van de kabel in de TV zijde AV aansluiting. Daarna voert u de
videokabel (niet geleverd) connector in de GELE ingang (op de plurale zijde) van de
geleverde AV verbindingskabel. De kleuren van de aansluitingen moet overeenstemmen.
Om de geluidsverbinding in te schakelen, moet u de RODE en WITTE ingangen gebruiken
van de zijde AV verbindingskabel. Daarna voert u de geluidskabel van het toestel in de
RODE en WITTE aansluiting van de geleverde zijde AV verbindingskabel. De kleuren
van de aansluitingen moet overeenstemmen.Opmerking: U moet de geluidsingangen van
de zijde AV verbindingskabel (ROOD & WIT) gebruiken om de geluidsverbinding in te
schakelen wanneer u een toestel aansluit op uw TV via de PC of COMPONENT VIDEO
ingang.
Headphone jack (hoofdtelefoonaansluiting) wordt gebruikt om een externe hoofdtelefoon 4.
aan te sluiten op uw systeem. Sluit aan op de HOOFDTELEFOON aansluiting om geluid
van de TV te beluisteren via de hoofdtelefoon (optioneel).
Zender/volume/ Source en Stand-by aan selectieschakelaar.5.
Stroomaansluiting
BELANGRIJK: Het TV-toestel is ontworpen voor een bediening met 220-240V wisselstroom, 50 Hz.
Laat na het uitpakken het tv- toestel op kamertemperatuur komen voor u het op de netstroom schakelt.
Steek het netsnoer in het stopcontact.
Nadat u de TV uitgepakt hebt, moet u het toestel de tijd gunnen op kamertemperatuur te komen voor u het
op het elektriciteitsnet aansluit.
HDMI 1
SPDIF
Coax.OUT
MODE
o

Table of Contents

Related product manuals