EasyManua.ls Logo

SAME SILVER 90 - Front PTO Views

Default Icon
470 pages
Print Icon
To Next Page IconTo Next Page
To Next Page IconTo Next Page
To Previous Page IconTo Previous Page
To Previous Page IconTo Previous Page
Loading...
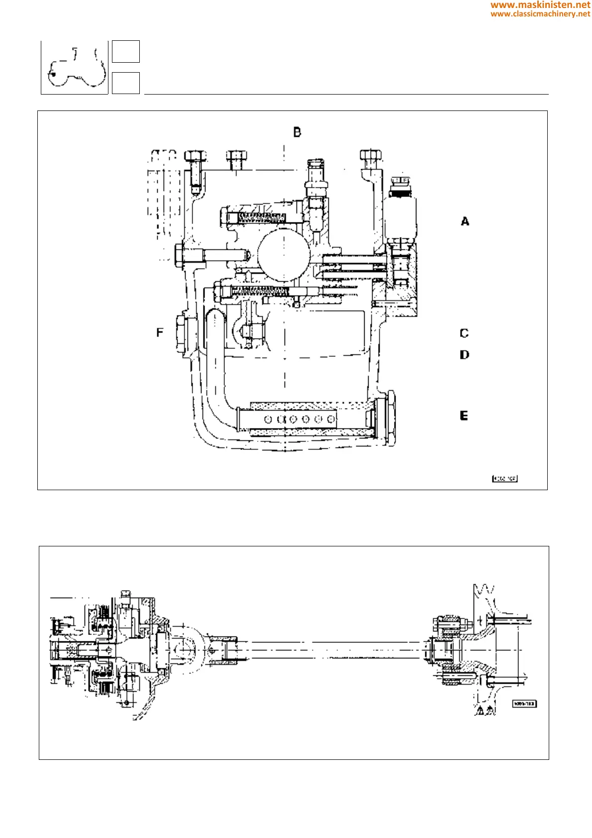
Fig. 5 - Longitudinal section of the front P.T.O. assembly.
Fig. 6 - Front P.T.O. shaft flexing coupling.
Apply some LOCTITE 510 (red) on the screw threads.
A - Solenoid valve
B - Clutch pressure control valve
C - Solenoid operated brake apply pressure control valve
D - Clutch engagement pressure accumulator
E - Strainer
F - Oil level indicator plug
59
5
vehicle
front power take-off
288
www.maskinisten.net
www.classicmachinery.net

Table of Contents

Related product manuals