EasyManua.ls Logo

SAME SILVER 90 - Checking clutch

Default Icon
470 pages
Print Icon
To Next Page IconTo Next Page
To Next Page IconTo Next Page
To Previous Page IconTo Previous Page
To Previous Page IconTo Previous Page
Loading...
Checking clutch
Make sure that the clutch disk friction linings are neither worn nor torn, if so replace the disks. The control piston should
be replaced if signs of scoring are noticed.
If the splined sliding surface of the clutch disk hub is sunk in its upper part, the hub should be replaced.
Check the efficiency of the piston return spring. The spring specifications should correspond to those indicated in the
specific table. Replace if necessary.
The clutch and brake piston sealing rings as well as the brake disk itself should be replaced if excessively worn.
If either the rotary seals or the relevant seats are worn, these should be replaced.
Every time the assembly is taken to pieces, carefully clean the oil passages in the clutch casing; use compressed air
if required.
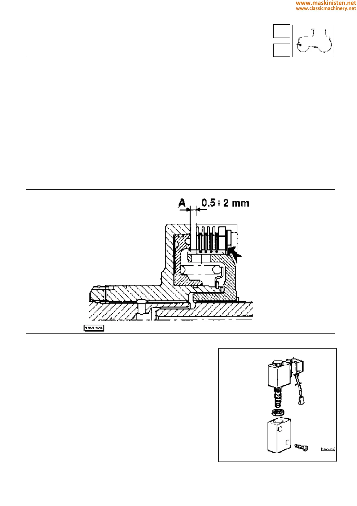
Check the clearance of the clutch friction discs
With new discs in place, check that distance A (Fig 11) is between 0,5 and 2 mm.
If the clearance is greater than the maximum value indicated, add 1 x shim p/n 2.1599.499.0 at the position arrowed.
Fig. 11 - Checking disk clearance of front power-take-off.
Checking the clutch assembly engagement pressure
Fit no. 5.9030.517.4 equipment to the oil supply pipe using no.
5.9030.632.0/10 union as shown in figure 3 at pages 286-287 and
then connect no. 5.9030.514.0 oil pressure gauge.
With the P.T.O. engaged
Let the oil circulate within the clutch casing and then be sure the
following conditions are established: with engine running at peak idling
speed the pressure reading should be 13±1 bar; with engine running at
the lowest idling speed the pressure reading should be 10±1 bar.
NOTE: Make sure the P.T.O. shaft terminal is turning.
With the P.T.O. disengaged
Let the oil circulate within the distributor casing and then be sure
the following conditions are established: with engine running at
peak idling speed the pressure reading should be 6±0.5 bar; with
engine running at the lowest idling speed the pressure reading
should be 4±0.5 bar.
NOTE: Make sure the P.T.O. shaft terminal is being braked.
Fig. 12 - Electro-hydraulic control valve.
59
5
vehicle
front power take-off
291
www.maskinisten.net
www.classicmachinery.net

Table of Contents

Related product manuals