EasyManua.ls Logo

SAME SILVER 90 - Page 317

Default Icon
470 pages
Print Icon
To Next Page IconTo Next Page
To Next Page IconTo Next Page
To Previous Page IconTo Previous Page
To Previous Page IconTo Previous Page
Loading...
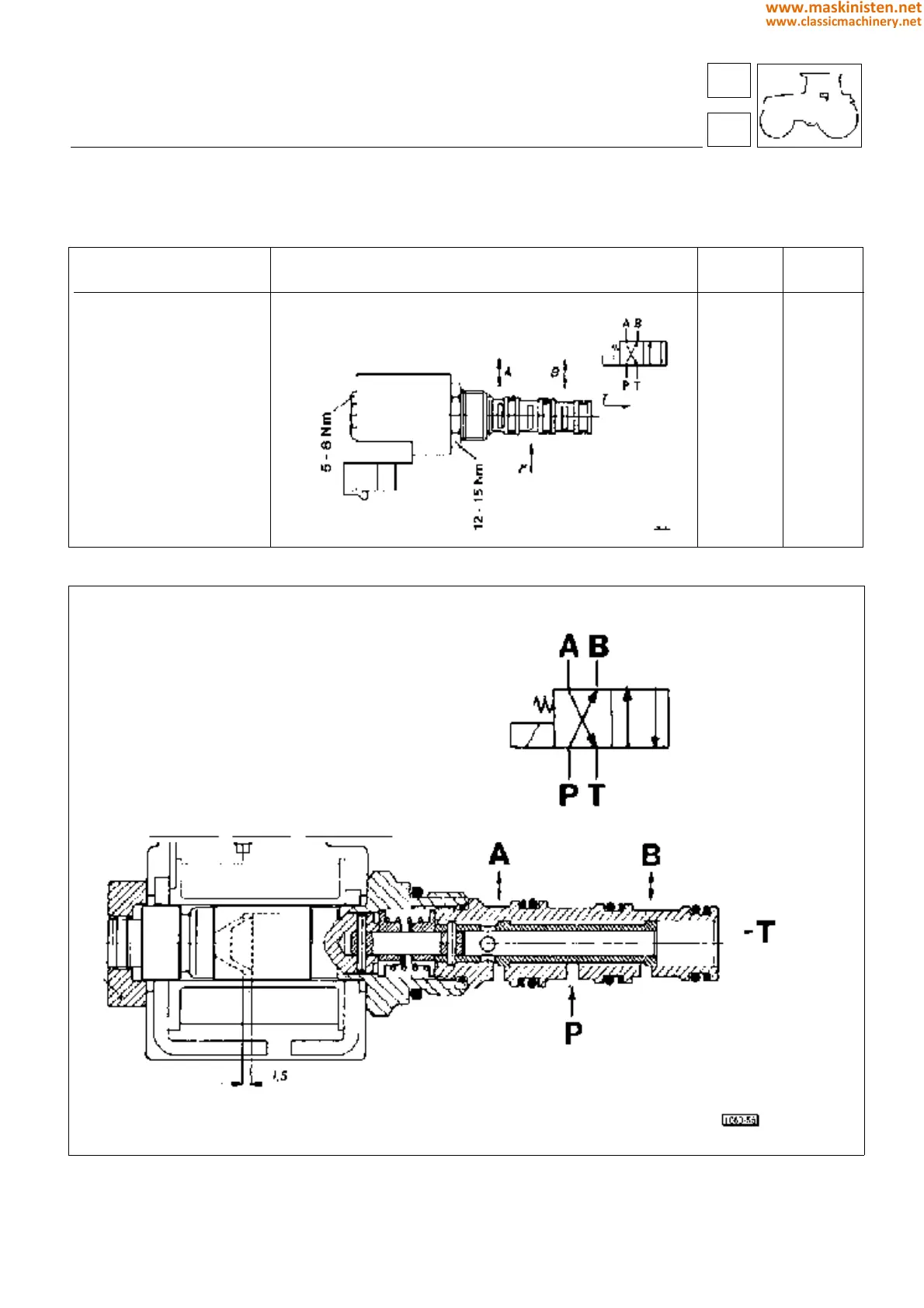
Solenoid operated valve controlling the front P.T.O. clutch.
Fig. 4 - Solenoid valve.
Before tightening the lock nut, smear the thread with LOCTlTE 242 (blue).
part number
007.5339.0/10
dimensions
max. delivery
rate
l/min
12
max.
pressure
bar
210
controls
electro-hydraulic controls
68
6
317
www.maskinisten.net
www.classicmachinery.net

Table of Contents

Related product manuals