EasyManua.ls Logo

SAME SILVER 90 - Page 385

Default Icon
470 pages
Print Icon
To Next Page IconTo Next Page
To Next Page IconTo Next Page
To Previous Page IconTo Previous Page
To Previous Page IconTo Previous Page
Loading...
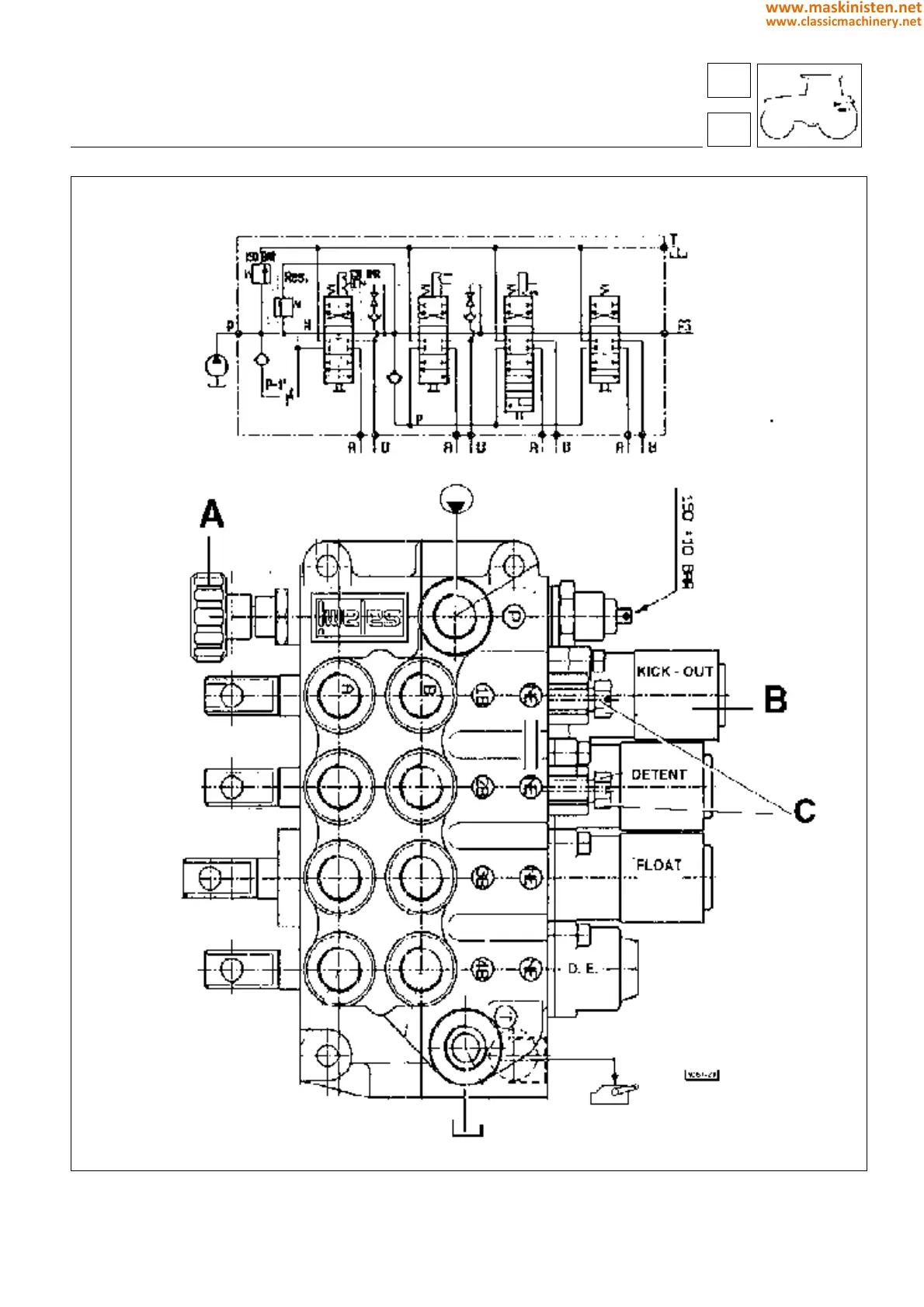
Fig. 8 - 8-way auxiliary spool valve:
A - Flow Divider B - KICKOUT C - Screws allowing conversion from double to single acting operation
pressure relief valve
88
8
systems
auxiliary systems
385
www.maskinisten.net
www.classicmachinery.net

Table of Contents

Related product manuals