EasyManua.ls Logo

Samsung SCA23 - Page 18

Samsung SCA23
134 pages
Print Icon
To Next Page IconTo Next Page
To Next Page IconTo Next Page
To Previous Page IconTo Previous Page
To Previous Page IconTo Previous Page
Loading...
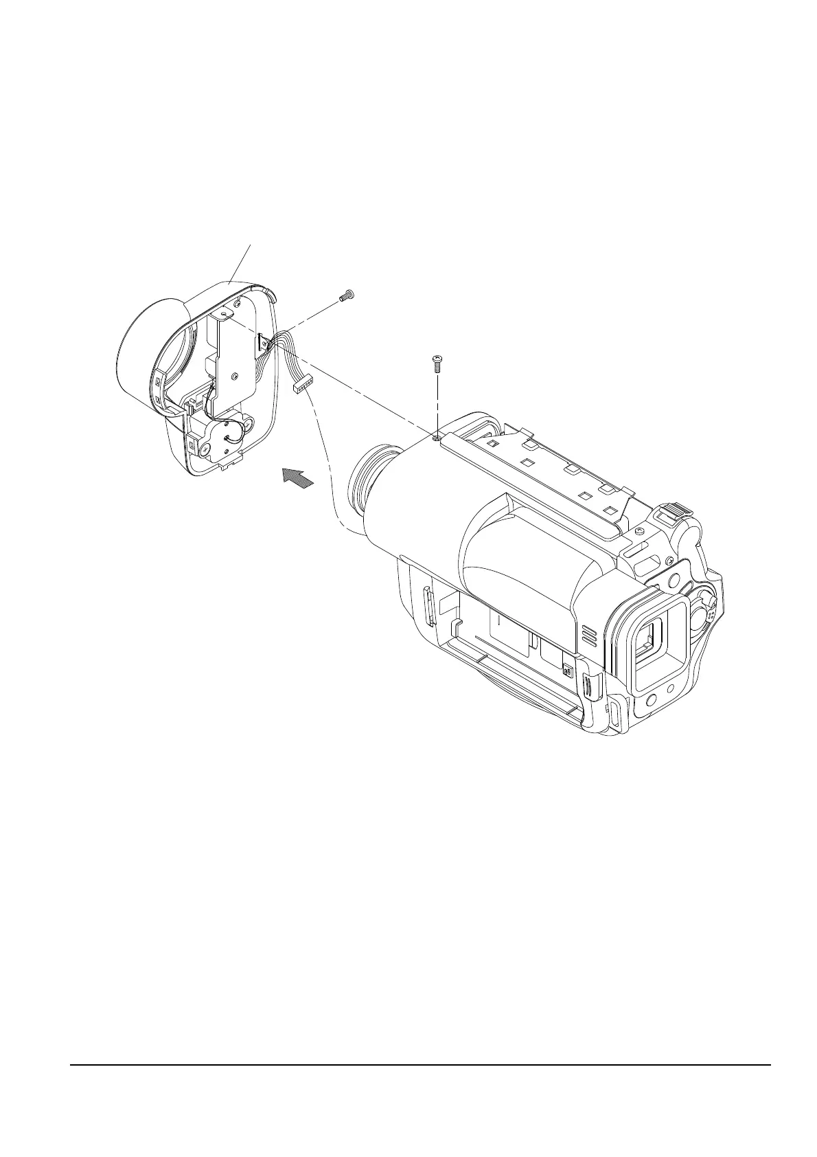
Disassembly and Reassembly
4-4 Samsung Electronics
Œ REMOVE 1 SCREW.
´ REMOVE 1 SCREW
ˇ REMOVE THE ASS'Y FRONT IN THE DIRECTION OF ARROW.
¨ DISCONNECT THE CONNECTOR FROM THE MAIN PCB.
4-1-4 Ass’y Front Removal (1)
Fig. 4-4 Ass’y Front Removal (1)

Related product manuals