EasyManua.ls Logo

Samsung SCL901 - Camcorder Accessories and Setup; Included Accessories and Remote Control

Samsung SCL901
76 pages
Print Icon
To Next Page IconTo Next Page
To Next Page IconTo Next Page
To Previous Page IconTo Previous Page
To Previous Page IconTo Previous Page
Loading...
ENGLISH
Getting to Know Your Camcorder
10
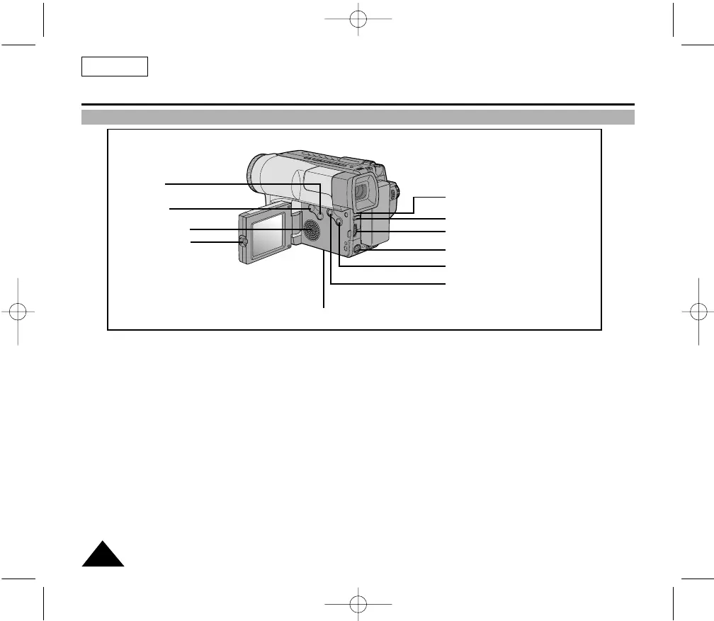
14. MENU ON/OFF (see page 26)
MENU ON/OFF works in CAMERA and PLAYER mode.
15. ENTER (MF) (see page 26)
ENTER works in MENU mode.
MF works in CAMERA mode. (see page 36)
16. UP/DOWN dial (VOLUME)
UP/DOWN dial works in MENU mode. (see page 26)
VOLUME works in PLAYER mode. (see page 56)
17. S-VIDEO out (see page 54)
18. PROGRAM AE (see page 38)
PROGRAM AE (Auto Exposure) works in CAMERA mode.
19. DSE (see page 40)
DSE works in CAMERA and PLAYER mode.
20. SPEAKER (see page 56)
Speaker works in PLAYER mode.
21. Lithium Battery (see page 17)
22. LCD open
23. FADE (see page 46)
FADE works in CAMERA mode.
24. BLC (see page 37)
BLC works in CAMERA mode.
Side View
21. Lithium Battery
24. BLC
23. FADE
20. SPEAKER
22. LCD Open
14. MENU ON/OFF
15. ENTER (MF)
16. UP/DOWN Dial (VOLUME)
18. P.AE
19. DSE
17. S-VIDEO out
00732M SCL901 SEA (1-19) 12/26/03 10:39 AM Page 10

Table of Contents

Other manuals for Samsung SCL901

Related product manuals