EasyManua.ls Logo

Sanyo DVR-V100E - Connections (Continued); Connecting the Unit to a Television; Progressive Scan Connection Setup

Sanyo DVR-V100E
62 pages
Print Icon
To Next Page IconTo Next Page
To Next Page IconTo Next Page
To Previous Page IconTo Previous Page
To Previous Page IconTo Previous Page
Loading...
16
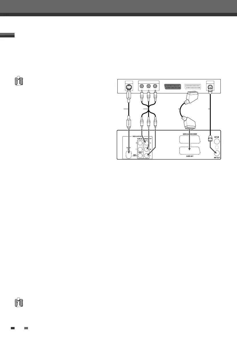
Choose one of the following TV connections, depending on the capabilities of your equipment.
RF Connection
Connect the RF OUT (TO TV) jack on the DVD Recorder+VCR to the antenna in jack on your TV using the supplied
75-ohm RF cable (R).
Scart Connection
1
Plug a scart cable into the scart socket EURO
AV1 at the back of the DVD Recorder+VCR and
the corresponding scart socket at the back of the
TV set. (V)
2
Plug a scart cable into the blue scart socket
EURO AV2/DECODER at the back of the DVD
Recorder+VCR and the corresponding scart
socket at the back of the Decoder.
S-Video Connection
1
Connect the S-VIDEO OUT jack on the DVD
Recorder+VCR to the S-Video in jack on your TV using an S-Video cable (S).
2
Connect the Left and Right AUDIO OUT jacks from the DVD Recorder+VCR to the left/right audio in jacks on
your TV using the audio cables.
Component Video Connection
1
Connect the COMPONENT/PROGRESSIVE VIDEO OUT jacks on the DVD Recorder+VCR to the corresponding
in jacks on your TV using a Y Pb Pr cable (C) if the component (Y, Pb, Pr) is available on your TV.
2
Connect the Left and Right AUDIO OUT jacks from the DVD Recorder+VCR to the left/right audio in jacks on
your TV using the audio cables.
Connecting a TV
Connections
This set doesn’t apply the modulator output.
However, still apply the RF through Output.
ANTENNA
INPUT
Y
Pb
Pr
COMPONENT/PROGRESSIVE VIDEO INPUT
S-VIDEO
INPUT
RV
S C
Progressive Scan Connection
If your television is a high-definition or ‘digital ready‘ television, you may take advantage of the DVD
Recorder+VCR’s Progressive Scan output for the highest video resolution possible.
If your TV does not accept the Progressive Scan format, the picture will appear scrambled.
1
Connect the COMPONENT/PROGRESSIVE VIDEO OUT jacks on the DVD Recorder+VCR to the corresponding
in jacks on your TV using an optional Y Pb Pr cable (C).
2
Connect the Left and Right AUDIO OUT jacks from the DVD Recorder+VCR to the left/right audio in jacks on
your TV using the audio cables.
Be sure to set the DVD Recorder+VCR to Progressive Scan mode by pressing and holding [P.SCAN] for 3 seconds
(or changing the ‘Video Output’ in the Setup Menu; see page 27).
Progressive Scan does not work with the RF, Audio/Video or S-Video connections.
Rear of DVD Recorder+VCR
Rear of TV
DF-L78E1P-SB 2005.5.20 4:17 PM ˘ ` 16 mac001 1200DPI 90LPI

Other manuals for Sanyo DVR-V100E

Related product manuals