EasyManua.ls Logo

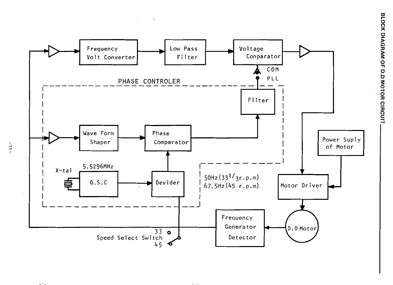
Sanyo PLUS Q50 - Direct Drive Motor Circuit Block Diagram; Motor Control System Overview

Sanyo PLUS Q50
19 pages
To Next Page IconTo Next Page
To Next Page IconTo Next Page
To Previous Page IconTo Previous Page
To Previous Page IconTo Previous Page
Loading...
I
BLOCK DIAGRAM OF D.D MOTOR CIR CUIT

Related product manuals