EasyManua.ls Logo

SEAL 54Base - Troubleshooting Wrinkles (Low Pressure;Tension, Alignment); How to Obtain Technical Assistance

SEAL 54Base
32 pages
Print Icon
To Next Page IconTo Next Page
To Next Page IconTo Next Page
To Previous Page IconTo Previous Page
To Previous Page IconTo Previous Page
Loading...
Maintenance 31
English
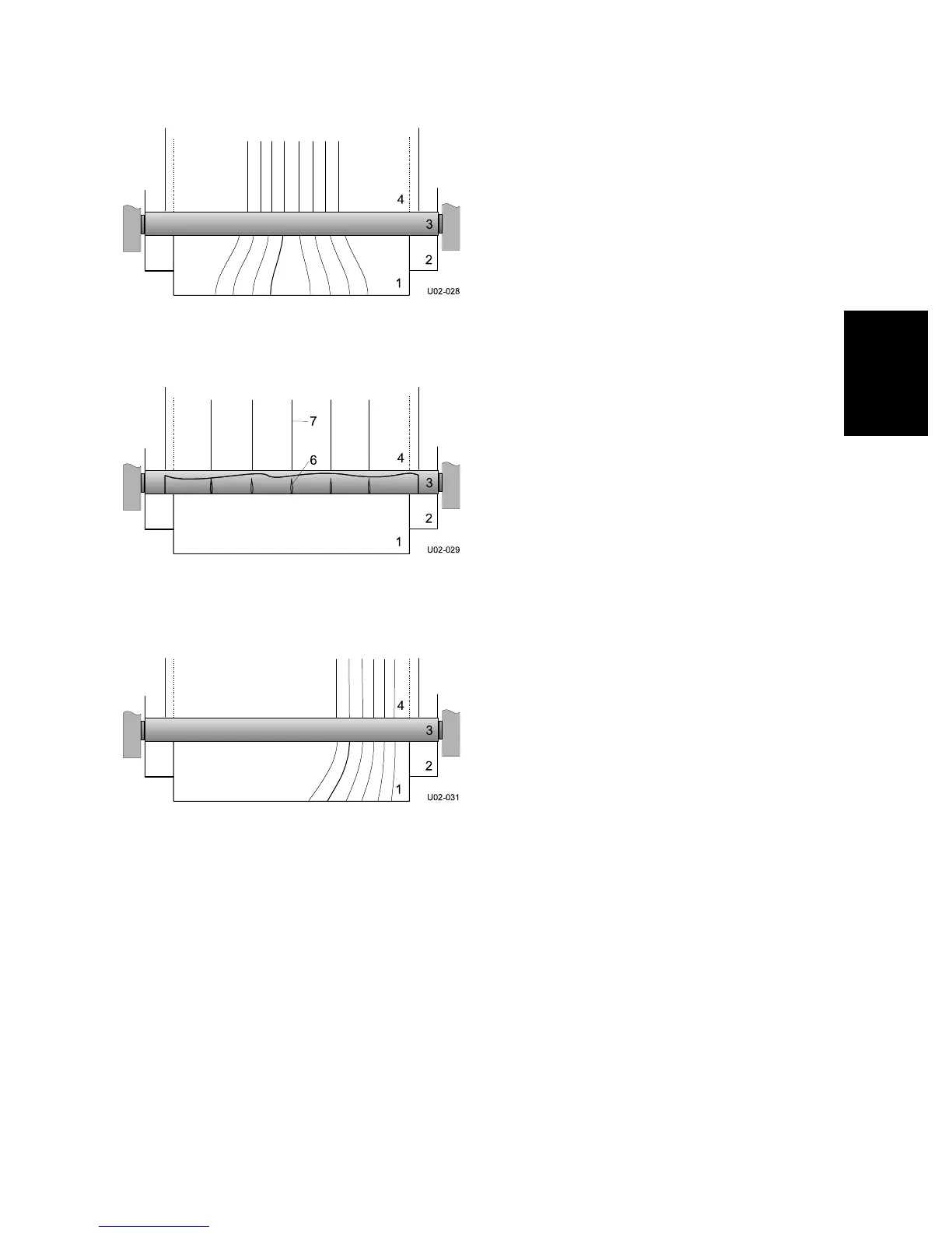
Pressure too low.
Figure 20: Wrinkles due to low pressure.
Increase the roller pressure a little (5-10%).
Unwind tension too low.
Figure 21: Wrinkles due to low unwind tension.
Increase the unwind tension until the wrinkles (6) in the film on the roller disappear. The lines
(7) in the process result will disappear as well.
Roller alignment fault.
Figure 22: Wrinkles due to faulty roller alignment.
The wrinkles occur on one side only (left or right).
This is a machine adjustment error. Contact your dealer and ask for technical assistance.
6.4 Technical assistance
For technical assistance you can contact your dealer or the address on the copyright page in the
front of this manual.
Make a clear description of the problem before contacting technical assistance.
Please keep the type and serial number of your machine at hand.
You can find this data on the identification plate of your machine, which can be found on the rear
side of the right cabinet.

Related product manuals