EasyManua.ls Logo

SharkRack 37U - Appendix B: Basic Cabinet Components

SharkRack 37U
46 pages
Print Icon
To Next Page IconTo Next Page
To Next Page IconTo Next Page
To Previous Page IconTo Previous Page
To Previous Page IconTo Previous Page
Loading...
SharkRack Enclosure Installation Guide
ID-00210-000 REV D, ECO2773 Page 40 of 46
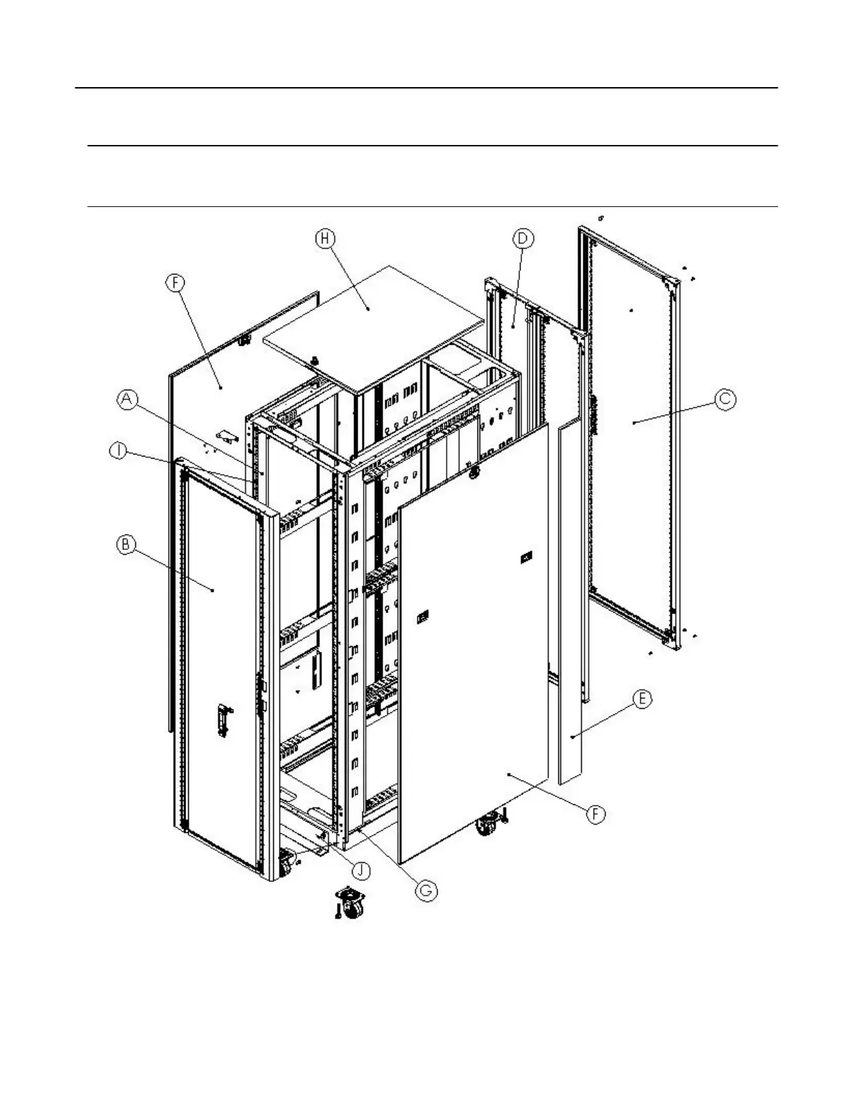
Appendix B: Basic Cabinet Components
Note: Before you begin configuring your SharkRack cabinet, it is best to verify that you have received all
necessary items to begin your installation. Also verify that your equipment has arrived free of damage. Rack
configurations may vary.
Figure 44
42U X 42DP Cabinet – Exploded View