EasyManua.ls Logo

Sharp ER-A520 - Page 118

Sharp ER-A520
275 pages
Print Icon
To Next Page IconTo Next Page
To Next Page IconTo Next Page
To Previous Page IconTo Previous Page
To Previous Page IconTo Previous Page
Loading...
ER-A520/A530 Dealer Knowledge Book
Page 112 of 266 Specifications subject to change without notice: Revision date 10/07
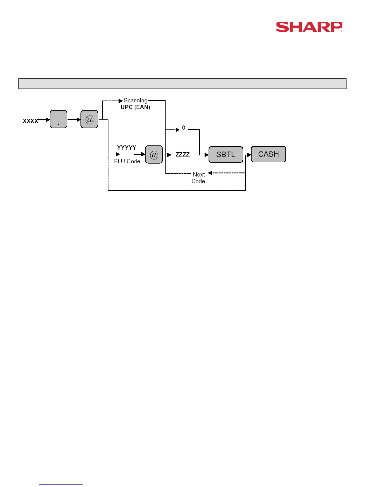
PLU/UPC (EAN) Code Programming Procedures
XXXX : Job Code
YYYYYY : PLU Code = 1 to 99999
Scanning : UPC (EAN) Code = 13 Digits (EAN13, EAN8, UPC-A and UPC-E Types)
Note: Number of PLU/UPCs are determined by File Group 8.
Codes that are 5 digits or less are acknowledge as PLU’s (Price Look Up)
Codes that are 6 digits or more are acknowledged as UPC (EAN) codes.

Other manuals for Sharp ER-A520

Related product manuals