EasyManua.ls Logo

Sharp ER-A520 - Sales Totals Reporting; Summary of X and Z Reports

Sharp ER-A520
275 pages
Print Icon
To Next Page IconTo Next Page
To Next Page IconTo Next Page
To Previous Page IconTo Previous Page
To Previous Page IconTo Previous Page
Loading...
ER-A520/A530 Dealer Knowledge Book
Page 184 of 266 Specifications subject to change without notice: Revision date 10/07
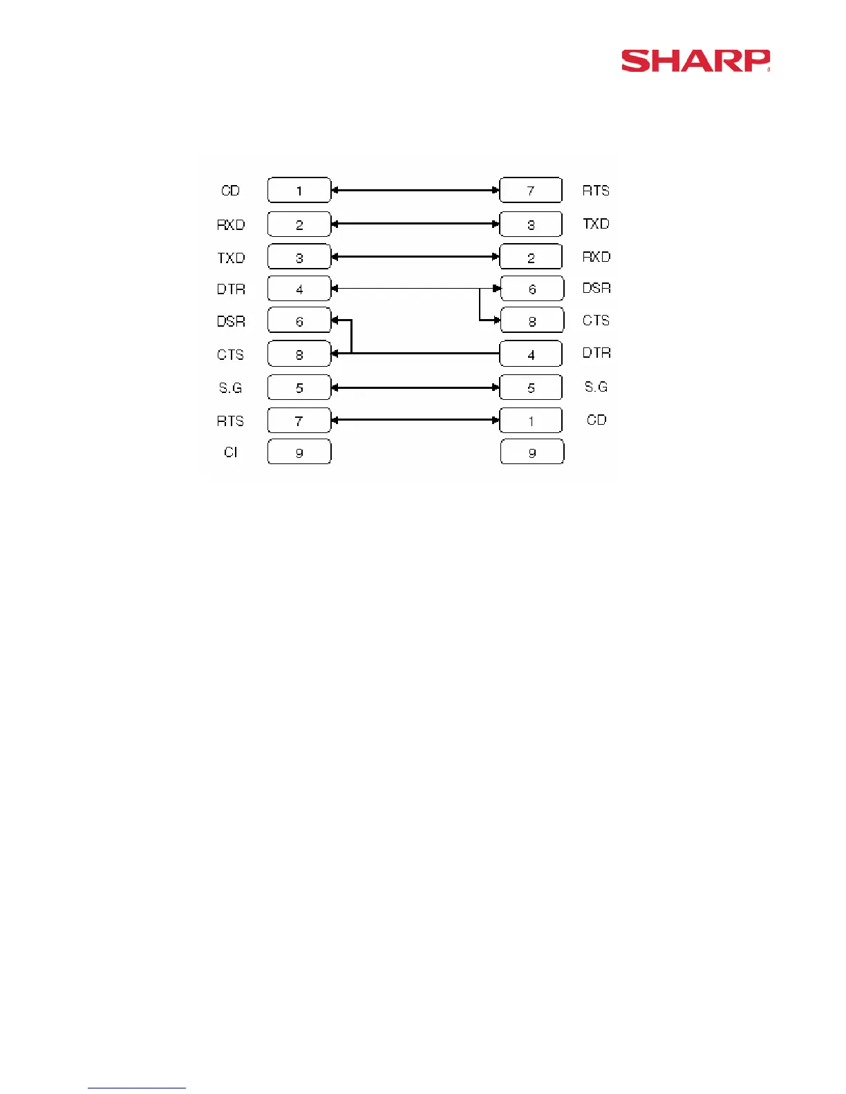
1. Cabling Pin Outs:
ECR ECR
9-pin Dsub 9-pin DSub
Note: Pin #9 is not used.
2. Online Interface:
1) Interface : RS232
2) Duplex Type : Half-Duplex/Full-Duplex
3) Line Configuration : Direct Connection/Modem Connection
4) Data Rate : 19200, 9600, and 4800 bps (programmable)
5) Synchronization Mode : Asynchronous
6) Parity Check : Vertical Parity Check (Odd)
7) Code : ASCII
8) Bit Sequence : LSB First
9) Data Format : 1 start bit + 7 data bits + 1 parity bit + 1 stop bit
3. Protocol:
Polling/Selecting (Simple Procedure)

Other manuals for Sharp ER-A520

Related product manuals