EasyManua.ls Logo

Sharp ER-A520 - Page 262

Sharp ER-A520
275 pages
Print Icon
To Next Page IconTo Next Page
To Next Page IconTo Next Page
To Previous Page IconTo Previous Page
To Previous Page IconTo Previous Page
Loading...
ER-A520/A530 Dealer Knowledge Book
Page 250 of 266 Specifications subject to change without notice: Revision date 10/07
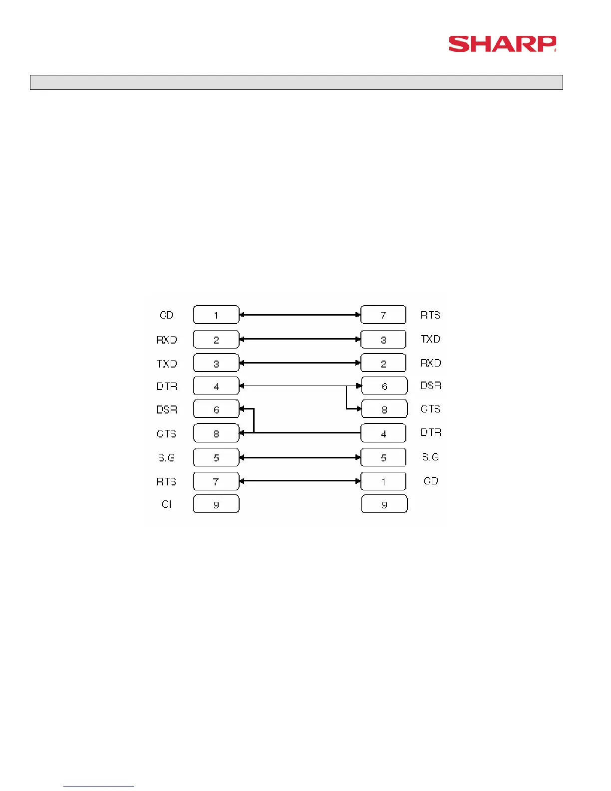
Cable Specifications
The RS232 function is used to download the logo image to the ER-A520/530 from the PC. Your SIO
function is dedicated to CHANNEL 2.
The below diagram represents the cable specifications required when connecting the ER-A520/530 to a PC
when the Logo Image Data function is used.
1. Specifications:
(1) Extension Cable: Shielded, twisted pair, 24 AWG
(2) Connectors: D Sub 9 pin (female type) connector
(3) Baud Rates: 38400
2. Pin Outs:
ECR ECR
9-pin D-Sub 9-pin D-Sub
Note: Pin #9 is not use
SD: Transmitted Data
RD: Received Data
DTR: Data Terminal Ready
DSR: Data Set Ready
RTS: Request to Send
DCD: Data Carrier Detector
CTS: Clear to Send
SG: Signal Ground

Other manuals for Sharp ER-A520

Related product manuals