EasyManua.ls Logo

Sharp FO-71 - Removing Packing Paper; Connecting the Power Cord

Sharp FO-71
88 pages
Print Icon
To Next Page IconTo Next Page
To Next Page IconTo Next Page
To Previous Page IconTo Previous Page
To Previous Page IconTo Previous Page
Loading...
1 8
FO-71RA
FO-51RA
Normal Dialing
1. Lift the handset or press .
2. Dial the fax number.
3. Wait for the reception tone (if a person answers, ask them to press their Start
key).
4. Press .
Rapid Key Dialing
Press the appropriate Rapid Key. Transmission will begin automatically.
Speed Dialing
1. Press .
2. Enter 2-digit Speed Dial number.
3. Press .
Direct Keypad Dialing
1. Dial the fax number.
2. Press .
[5] Quick reference guide
SPEAKER
SPEED
DIAL
START
START
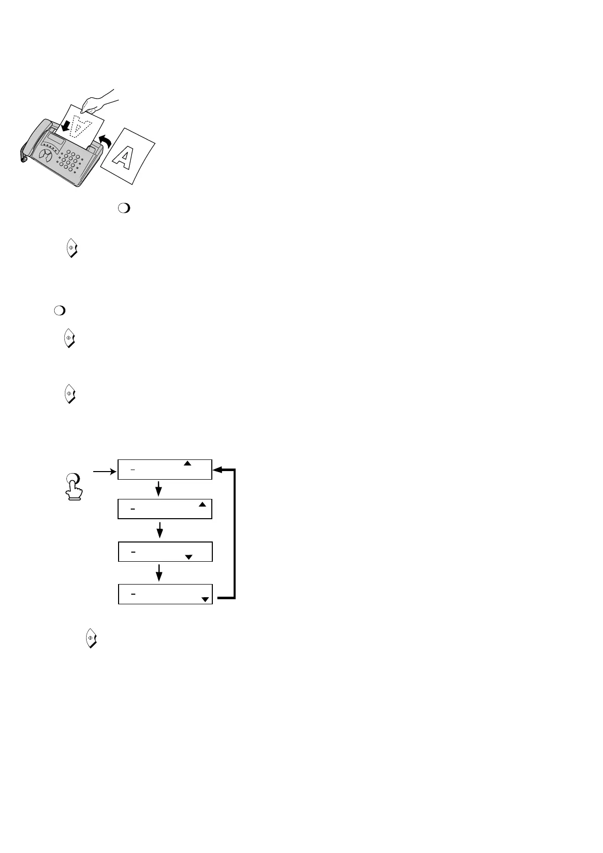
Place your document (up to 5 pages) face
down in the document feeder.
SENDING FAXES
START
FAX
TEL
FAX
TEL
05 NOV 10:30
A.M.
TEL/FAX
A.M.
TEL/FAX
05 NOV 10:30
FAX
TEL
FAX
TEL
05 NOV 10:30
A.M.
TEL/FAX
A.M.
TEL/FAX
05 NOV 10:30
RESOLUTION/
RECEPTION MODE
TEL mode: Answer all calls (even faxes) by picking up the handset. To begin fax
reception, press .
FAX mode: The fax machine automatically answers and receives faxes.
TEL/FAX mode: The fax machine automatically answers and receives faxes. Voice
calls (including manually dialed fax transmissions) are signalled by a special ring-
ing sound.
A.M. mode: Select this mode when an answering machine is connected to the fax
and the answering machine is turned on.
RECEIVING FAXES
Press the RESOLUTION/RECEPTION MODE key until the arrow in the display
points to the desired reception mode (make sure the document feeder is empty).
START

Table of Contents

Other manuals for Sharp FO-71

Related product manuals