EasyManua.ls Logo

Sharp XE-A201 - Deduction Entries; Refund Entries

Sharp XE-A201
276 pages
Print Icon
To Next Page IconTo Next Page
To Next Page IconTo Next Page
To Previous Page IconTo Previous Page
To Previous Page IconTo Previous Page
Loading...
19
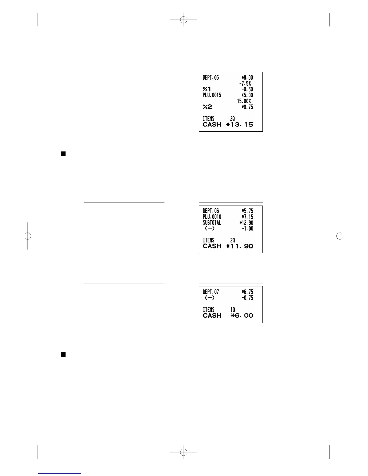
Percent calculation for item entries
Deduction entries
Your register allows you to deduct a preset amount or a certain amount manually entered, which are less than a
programmed upper limit. These calculations can be after the entry of an item and/or the computation of subtotal
depending on the programming.
Deduction for subtotal
Deduction for item entries
Refund entries
For a refund of a department item, start with entering the refund amount and press the
f
key, then press the
corresponding department key (in case of department 17 to 32, press the
D
key and press the
corresponding department key, and in case of department 33 to 50, enter the refund amount and press the
M
key, then enter the department code, press the
f
key and press the
d
key).
For a refund of a PLU item, enter the PLU code and press the
f
key, then press the
p
key.
For a refund of a subdepartment item, enter the refund amount and press the
M
key, then enter the PLU code,
press the
f
key and press the
p
key.
675
*
-
A
(When a deduction amount of
0.75 is programmed.)
PrintKey operation example
575
+
10
p
m
s
100
-
A
PrintKey operation example
800
+
7
P
5
%
15
p
&
A
(When premium and 15% are
programmed for the
&
key)
PrintKey operation example
A201_2 FOR THE OPERATOR 01.11.11 10:20 AM Page 19

Table of Contents

Other manuals for Sharp XE-A201

Related product manuals