EasyManua.ls Logo

Sharp XE-A201 - Corrección del Registro Siguiente al Último O Anterior (Cancelación Indirecta); Cancelación del Subtotal; Corrección de Registros Incorrectos no Hechos con la Función de Cancelación Directa O Indirecta

Sharp XE-A201
276 pages
Print Icon
To Next Page IconTo Next Page
To Next Page IconTo Next Page
To Previous Page IconTo Previous Page
To Previous Page IconTo Previous Page
Loading...
Podrá cancelar cualquier registro de sección incorrecto, registro de PLU/subsección o registro de devolución de
artículo hechos durante una transacción, si lo encuentra antes de finalizar la transacción (por ejemplo, pulsando
la tecla
A
). Esta función es aplicable sólo a los registros de sección, PLU/subsección y de devolución.
Pulse la tecla
v
justo antes de pulsar una tecla de sección, la tecla
d
, o la tecla
p
. Para la cancelación
indirecta de devolución, pulse la tecla
v
después de haber pulsado la tecla
f
.
Puede cancelar una transacción completa. Una vez ejecutada la cancelación del subtotal, la transacción se
detiene y la caja registradora emite un recibo. Esta función no funciona cuando se han introducido más de 30
artículos.
Cualquier error que encuentre después de haber terminado el registro de una transacción o durante el registro
del importe recibido no podrá cancelarlo. Estos errores deben ser corregidos por el administrador.
Deben tomarse los pasos siguientes:
1. Si está haciendo usted el registro de importe recibido, finalice la transacción.
2. Haga los registros correctos desde el principio.
3. Entregue el recibo incorrecto al administrador para que lo cancele.
Corrección de registros incorrectos no hechos con la función de
cancelación directa o indirecta
4
Cancelación del subtotal
1310 "
"
1755 +
10 p
35 p
s
v
s
ImpresiónEjemplo de operación de teclas
Cancelación del subtotal
3
Corrección
de un registro
de PLU
Corrección de
un registro de
devolución
Corrección
de un registro
de sección
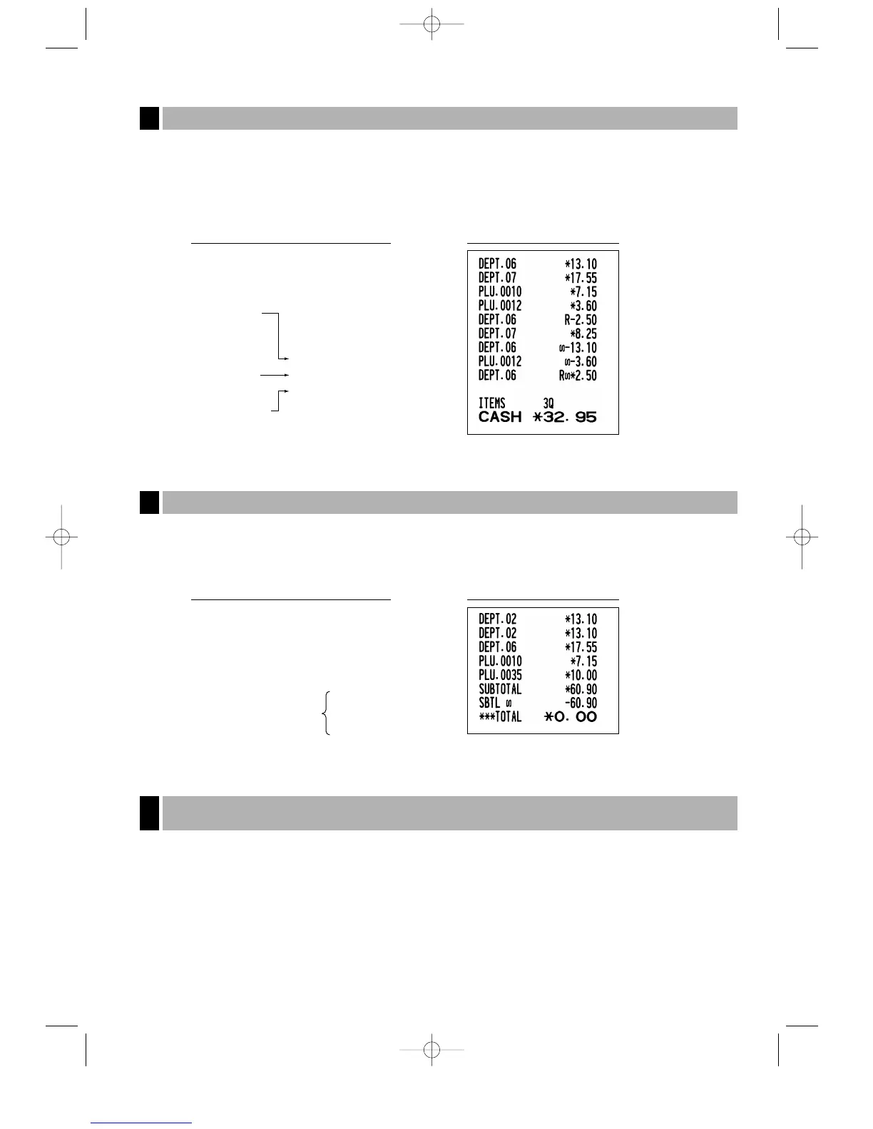
1310 +
1755 *
10 p
12 p
250 f +
825 *
1310 v +
12 v p
250 f v +
A
ImpresiónEjemplo de operación de teclas
Corrección del registro siguiente al último o anterior (cancelación indirecta)
2
23
A201_2 FOR THE OPERATOR(S) 01.11.7 2:21 PM Page 23

Table of Contents

Other manuals for Sharp XE-A201

Related product manuals