EasyManua.ls Logo

Shibaura ST445 - Brush and Brush Spring Check; Alternator Reassembly

Default Icon
212 pages
Print Icon
To Next Page IconTo Next Page
To Next Page IconTo Next Page
To Previous Page IconTo Previous Page
To Previous Page IconTo Previous Page
Loading...

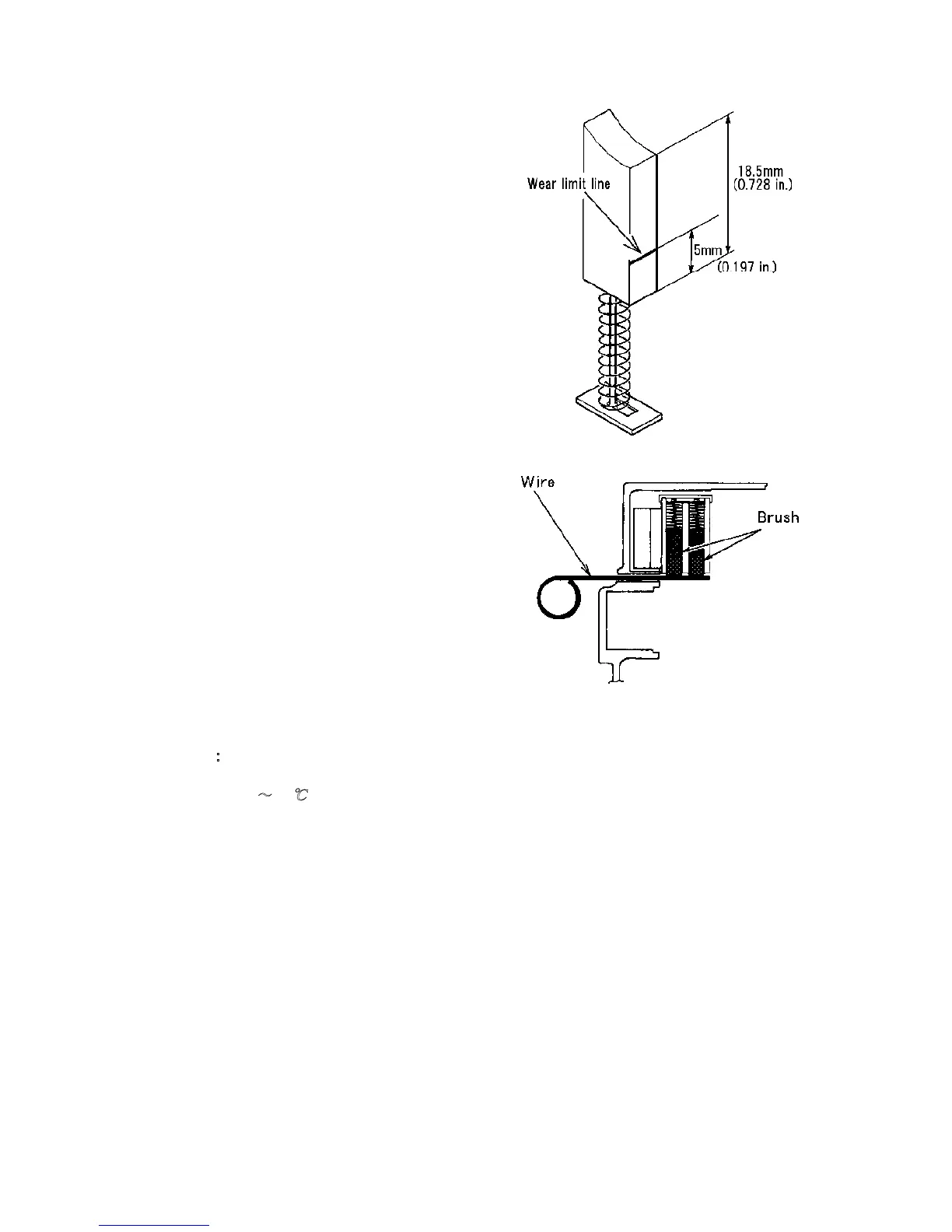
* 8;9. ' 4* 8 ; 9. 9 68/4-
5 208 A 5292;4A5<3 A 52/?B@5
 / ? B @ 5 D<?; 1 < D; A< A 52 D2. ? 96 :6A
96;2 @ 5< B91/2?2=9.0 21
5 208 A52 /?B@5 @=? 6;4 =?2@@B? 2 .;1
:.82 @ B ? 2 A52 / ?B@ 5 :< C2@ @ :<<A59F
6;A52/?B@55<91 2?
! +'99+ 3(2?
%2C2 ? @2 A 52 16@ . @ @2 :/9 F =?< 021B?2
2E02= A3< ? A523<99< D6; 4
4 9:'22 / 4 - 85:58
$B@5 /?B@52 @ 6;A< /?B@5 5<912? .;1
6;@2 ? A . D6?2 A < 5<91 A 52 : 6 ; ? .6@21
=<@6A 6<; / 2 3< ? 2 6;@A .99 A52 ? 20A6362 ? .;1
?24B9 .A<? .@@2:/9F
;@A. 99?<A<?.;1 ?2:< C2 D6?2
,
,
#
! $ $ $! ! $ $ $& && ! % & & & & $! "* ! & $$
$& & "
"$!%& !$"&"$
;(8/)':/54 : 5 ( +' 8/4- (5> ,58 (+'8/4- =/:. 8+9/4 ( ' 4 * -8+'9+ 9.5;2* 45 : ( +
'662/+ *
%2:< C2<69@0<:= 92A 2 9 F 6 33<B;1<;A 52/2.?6;4/< E 6;A52?2.?/ ? . 0 82A

Table of Contents

Related product manuals