EasyManua.ls Logo

Siemens 3VF Series - Page 94

Siemens 3VF Series
114 pages
To Next Page IconTo Next Page
To Next Page IconTo Next Page
To Previous Page IconTo Previous Page
To Previous Page IconTo Previous Page
Loading...
Communication System Manual 3WN1, 3WS1 Circuit-Breakers
94 Copyright Siemens AG 1998. All rights reserved. Version 1.0 (08/98)
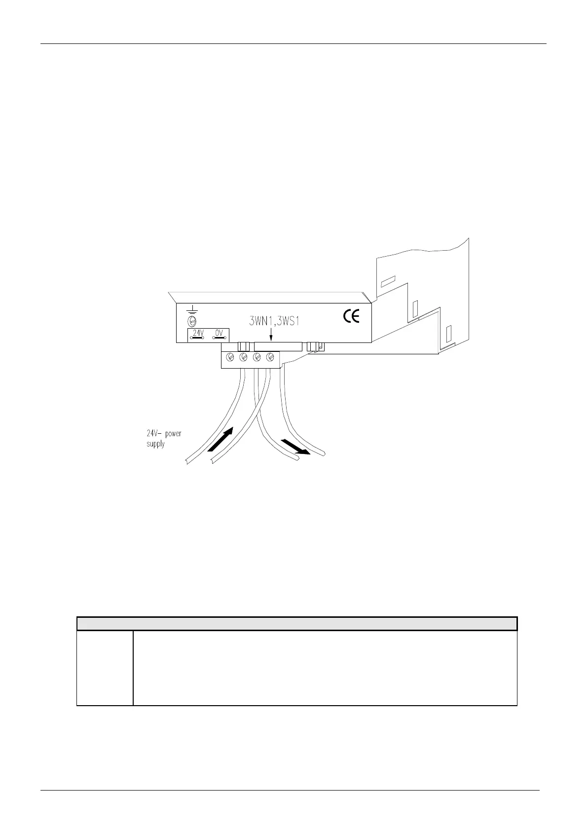
4.5.2.2.4 Power supply
The device is connected to the 24 V DC power supply by means of a 4-pole plug-type screw
terminal. The 24 V DC voltage of the power supply unit may fluctuate between 20.4 V and 28.8 V as
specified in DIN 19240. The 4-pole plug-type screw terminal makes a through connection of the
24 V supply to another device possible. Please note, however, that the supply voltage is looped
through the device, i.e. the supply voltage to the other device is also interrupted when the screw
terminal is disconnected.
Connect the supply voltage to the designated 4-pole plug-type screw terminal on the front panel
of the device.
Fig. 18: Power supply terminal
4.5.2.2.5 Screen bonding
The interface module is fitted with two contact points for screen bonding. These are two electrically
isolated screens in the device which must be connected to the equipotential bonding strip outside
the module. This precaution ensures a greater immunity to interference as the "cable screen
current", which can be anything up to a few amperes due to differences of potential of two slaves, is
not discharged via the device.
The first screen bonding point (= screen for internal filter connections) is located on the base of the
interface module and is automatically connected when the module is mounted on the DIN rail.
Note
High levels of stress
!
If the device is subject to high levels of mechanical or chemical stress, we
recommend that a tinned DIN rail be used in order to ensure a good contact to the
screen bonding.
Order number: 6ES5 710-8MA11 ---> Length of 483 mm for 19" cubicles
6ES5 710-8MA21 ---> Length of 530 mm for 600 mm cubicles
6ES5 710-8MA31 ---> Length of 830 mm for 830 mm cubicles
6ES5 710-8MA41 ---> Length of 2 m

Table of Contents

Related product manuals