EasyManua.ls Logo

Siemens FDA221

Siemens FDA221
114 pages
To Next Page IconTo Next Page
To Next Page IconTo Next Page
To Previous Page IconTo Previous Page
To Previous Page IconTo Previous Page
Loading...
Mounting / Installation
5
Mounting
59
Building Technologies A6V10334410_h_en_--
Fire Safety 2015-09-29
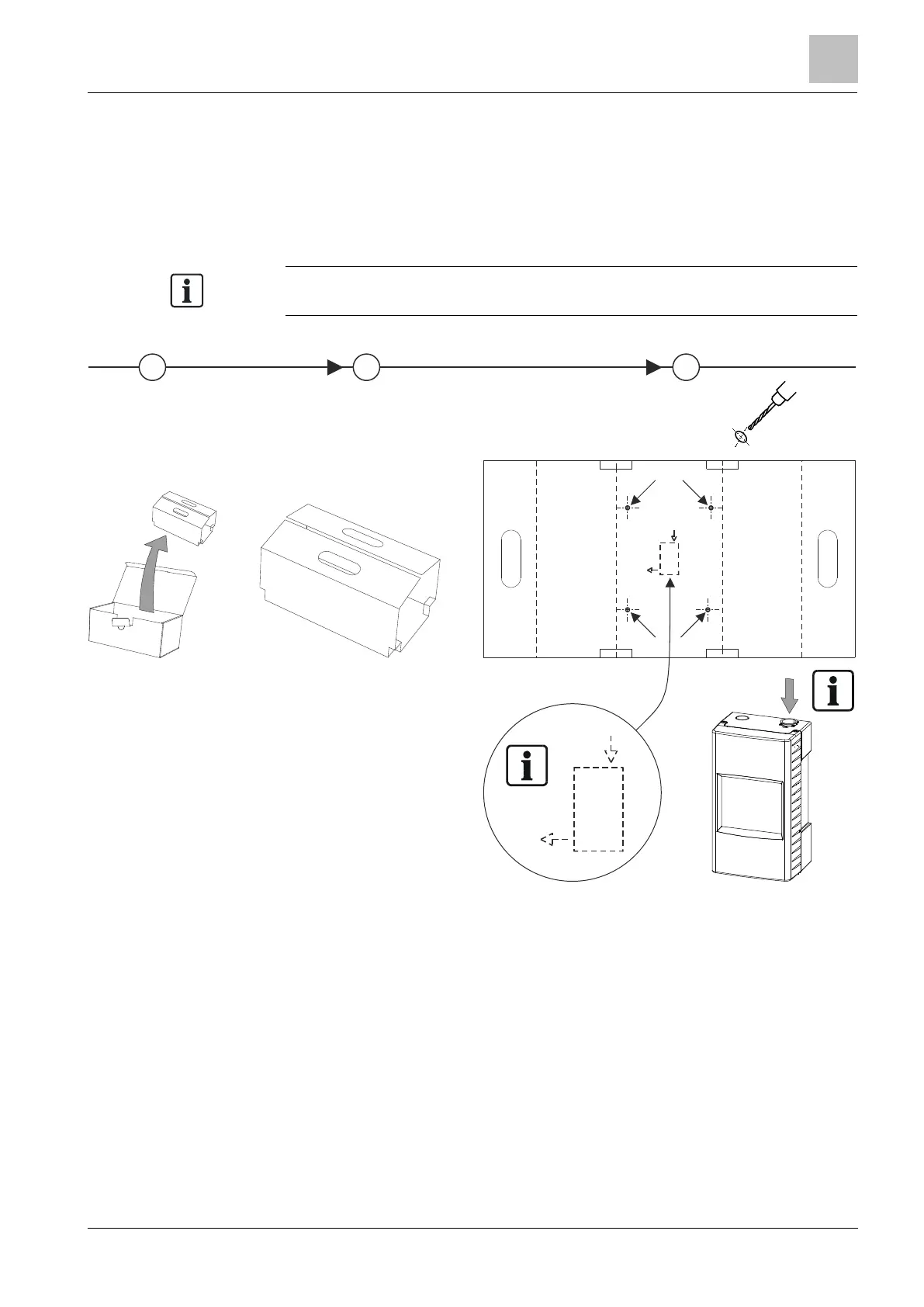
5.2.2 Fastening on a level substructure
A drilling template is punched in the inner packaging of the aspirating smoke
detector packaging.
The punched symbol in the center of the packaging indicates the airflow direction
(air inlet and air outlet).
The mounting holes in the back box are not symmetrical, so use the drilling
template.
1
3
2
4x
Using the drilling template
4 screws with a shaft diameter of 5…6 mm and a head diameter of 810 mm
are available.
A suitable tool for drilling and screwing is available.
The housing cover is removed and the cable loosened.
The product must be installed on a level, non-combustible base.
1. Use the unfolded packaging as the drilling template.
Note the arrow symbol for the direction of the pipe connections (step 3).
2. Drill the mounting holes.
3. If necessary: Use suitable dowels.

Table of Contents

Other manuals for Siemens FDA221

Related product manuals