EasyManua.ls Logo

Siemens FDA221

Siemens FDA221
114 pages
To Next Page IconTo Next Page
To Next Page IconTo Next Page
To Previous Page IconTo Previous Page
To Previous Page IconTo Previous Page
Loading...
5
Mounting / Installation
Installation
70
Building Technologies A6V10334410_h_en_--
Fire Safety 2015-09-29
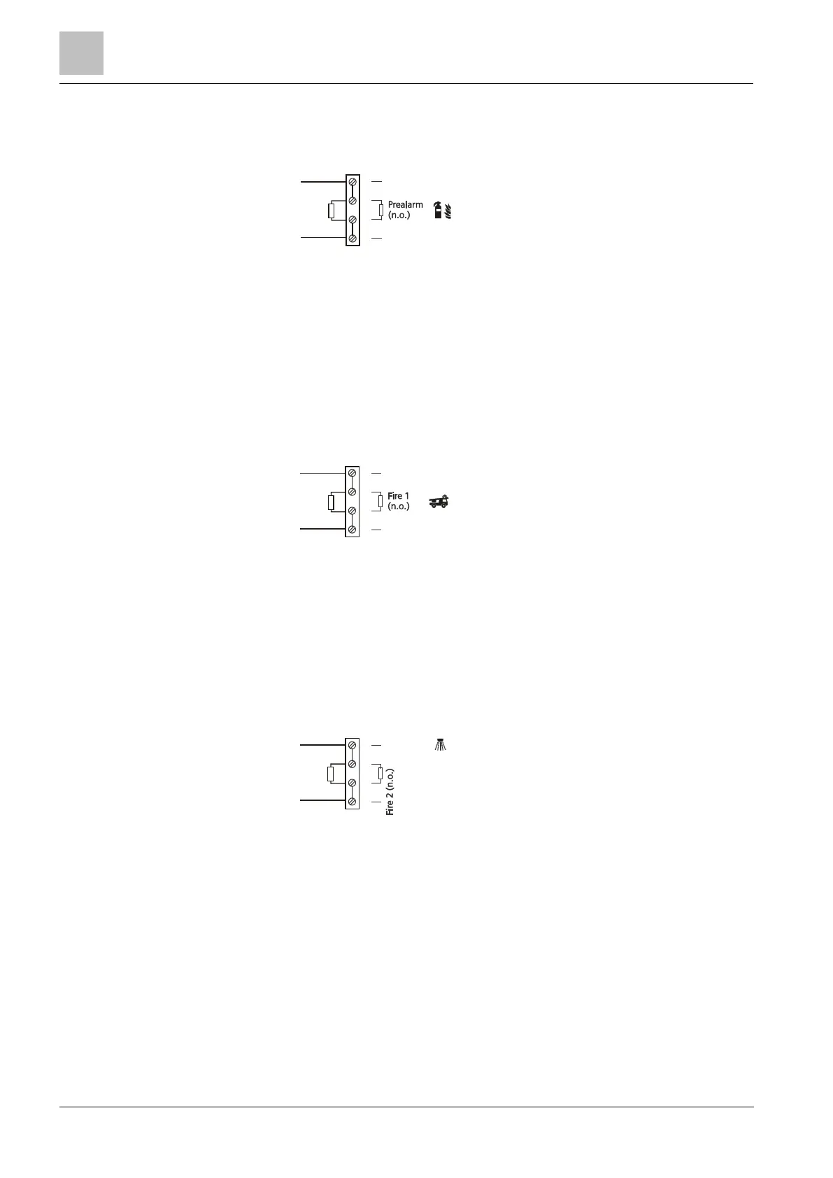
5.3.8 'PreAlarm' relay output for pre-alarm
Relay output for 'pre-alarm' alarm level.
Connection: n.o. (default setting)
Properties
Activation occurs according to the chosen setting.
The connection can be changed to 'n.c.' with the 'FXS2051 ASD Configuration
Tool' software. The chosen setting applies automatically to 'Inspect', 'Prealarm',
'Fire 1', 'Fire 2'.
5.3.9 'Fire 1' relay output for fire alarm 1
Relay output for alerting the fire brigade.
Connection: n.o. (default setting)
Properties
Activation occurs according to the chosen setting.
The connection can be changed to 'n.c.' with the 'FXS2051 ASD Configuration
Tool' software. The chosen setting applies automatically to 'Inspect', 'Prealarm',
'Fire 1', 'Fire 2'.
5.3.10 'Fire 2' relay output for fire alarm 2
Relay output for alarm level 2 to activate external extinguishing equipment.
Connection: n.o.
Properties
Activation occurs according to the chosen setting.
The connection can be changed to 'n.c.' with the 'FXS2051 ASD Configuration
Tool' software. The chosen setting applies automatically to 'Inspect', 'Prealarm',
'Fire 1', 'Fire 2'.

Table of Contents

Other manuals for Siemens FDA221

Related product manuals