EasyManua.ls Logo

Siemens RDF800KN

Siemens RDF800KN
94 pages
To Next Page IconTo Next Page
To Next Page IconTo Next Page
To Previous Page IconTo Previous Page
To Previous Page IconTo Previous Page
Loading...
87 / 94
Siemens RDF800KN.., RDF800KN/VB, RDD810KN/NF Basic documentation CE1P3174en
Smart Infrastructure 2020-02-21
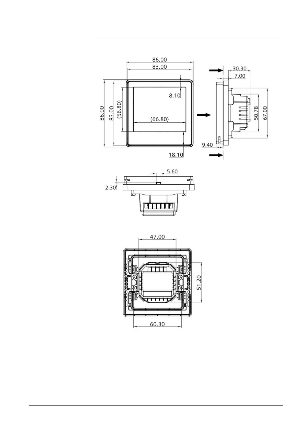
7.2 Dimensions
Dimensions in mm
RDF800KN/NF and
RDD810KN/NF
for square conduit
boxes only

Table of Contents

Related product manuals