EasyManua.ls Logo

Siemens SINUMERIK 840D sl Ctrl-Energy - Checking the Energy-Saving States

Siemens SINUMERIK  840D sl Ctrl-Energy
62 pages
Print Icon
To Next Page IconTo Next Page
To Next Page IconTo Next Page
To Previous Page IconTo Previous Page
To Previous Page IconTo Previous Page
Loading...
Transition to "OFF"
DBX 10.1 == 1 ("deactivate profile") or delete the profile: highest priority and independent
of the profile initialization
- OR -
0-1 edge at the DBX 10.0 ("profile is initialized")
- OR -
At least one of the signals that have been enabled for evaluation using the following masking
bits, is inactive (also see Chapter 3.1.5.2.):
DBX 11.0, DBX 11.1, DBX 11.2 HMI activities
DBX 12.0 MCP activities
DBX 13.0 – DBX 13.7 NCK channel activities
DBX 14.0, DBX 14.1 NCK channel activities
DBX 15.0, DBX 15.1 Master computer and PLC prohibit signals
The specified signals refer to energy-saving profile 1.
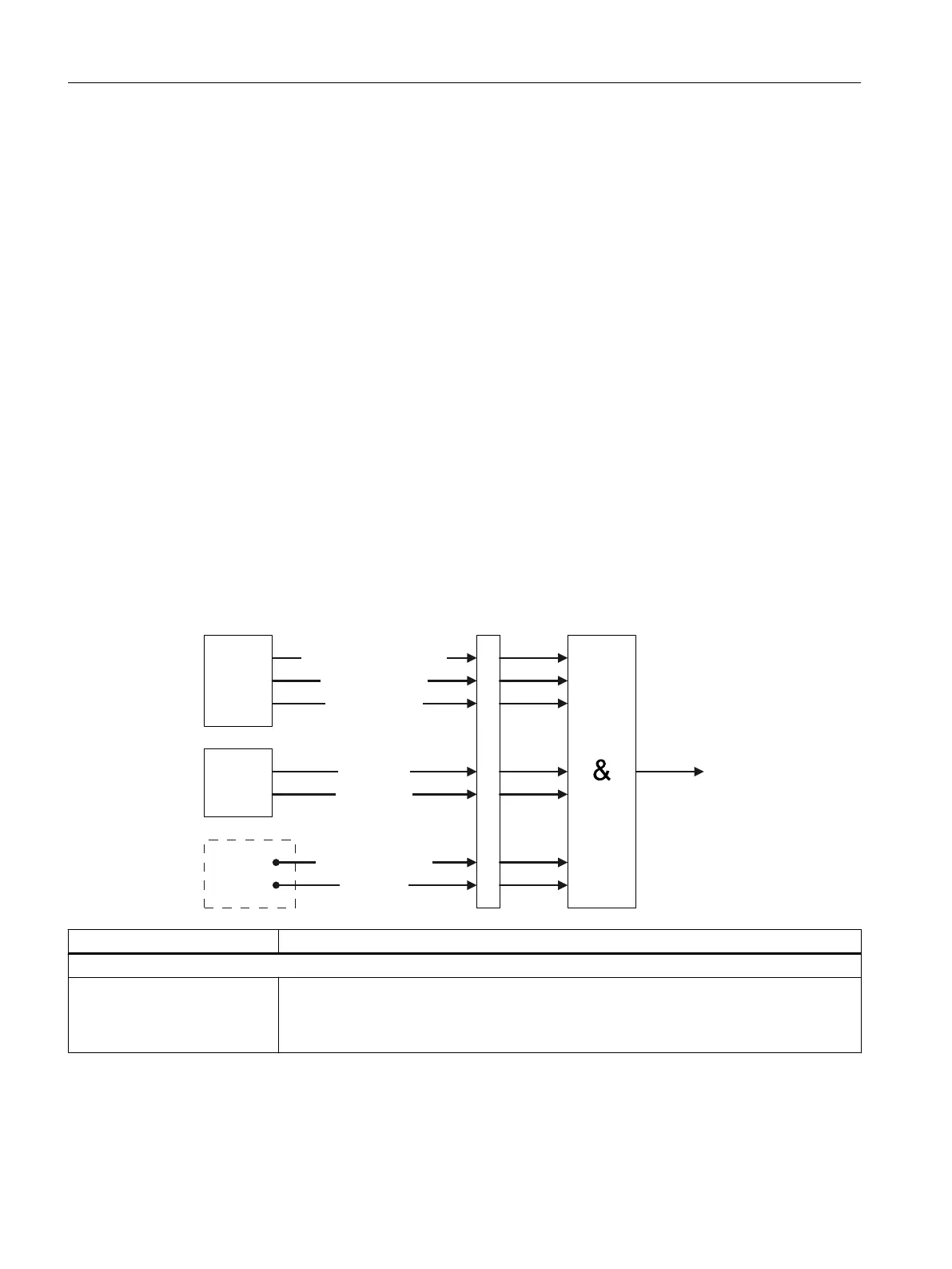
4.1.3 Checking the energy-saving states
The following signals are checked when entering or retaining the energy-saving profile. The
signals can be masked for each energy-saving profile.
83VLJQDO
0DVWHUFRPSXWHU
SURKLELWV
3/&XVHU
SURJUDP
1&.DFWLYLW\
0&3RSHUDWHG
6FUHHQFKDQJH
DFWLYH
'DWDWUDQVIHUDFWLYH
.H\ERDUGKDVEHHQXVHG
0
D
V
N
L
H
U
X
Q
J
3/&*3
+0,
2SHUDWH
Signal Function
Generated by the HMI
Keyboard has been used
(state condition "No key press‐
ed on the operator panel")
This signal is set if in the last second the keyboard of the SINUMERIK control was used.
This signal is only available once for each control system and is automatically linked through
the masking. In the case of several operator panels, the group signal of all keyboards is
used. For a keystroke, the HMI sets this bit and the PLC handles the reset process.
Ctrl-E Profiles
4.1 Commissioning the PLC for Ctrl-E Profiles
Ctrl-Energy
42 System Manual, 01/2015, 6FC5397-0EP40-5BA2

Table of Contents

Related product manuals