EasyManua.ls Logo

sitrex MX 8 - Page 21

Default Icon
61 pages
Print Icon
To Next Page IconTo Next Page
To Next Page IconTo Next Page
To Previous Page IconTo Previous Page
To Previous Page IconTo Previous Page
Loading...
ASSEMBLY STEPS
19
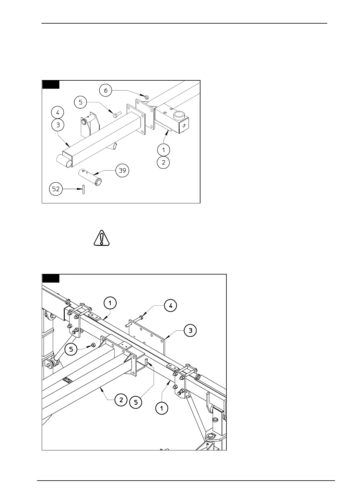
15. (MX 10 only)
Attach end sections 3 & 4 (LH - RH) to sections 1 & 2 (LH - RH) using screws 5 and nuts 6.
Insert bushings 7 in the correct
openings in end sections 3 & 4 (LH -
RH) and fasten in place with spring
pins 8.
In this step, you will use:
Item 5:
8 - screws M 16 x 45
(5/8" x 1" 3/4)
Item 6:
8 - nuts M 16
(5/8")
Item 8:
2 - spring pins D 8 x 70
(D 5/16" x 2" 3/4)
16. DANGER
This operation is to be carried out with the aid of supports and a jack or hoist of suitable
capacity. Weight of Part 2:
110 kg, 245 lbs.
NOTE: Assemble the
drawbar 2 in the middle of
the cross members 1 only
when the cross members 1
are pulled in together, so
the drawbar 2 and
counterplate 3 must be
assembled between ledges
6 (see also figure 46).
Attach drawbar 2 to cross
member assembly 1 using
counterplate 3, screws 4
and nuts 5.
in this step, you will use:
Item 4:
8 - screws M 16 x 165
(5/8" x 5" 3/8)
Item 5:
8 - nuts M 16
(5/8")
16
15

Related product manuals