EasyManua.ls Logo

Snapper 421622BVE - Wiring Schematic

Snapper 421622BVE
32 pages
Print Icon
To Next Page IconTo Next Page
To Next Page IconTo Next Page
To Previous Page IconTo Previous Page
To Previous Page IconTo Previous Page
Loading...
28
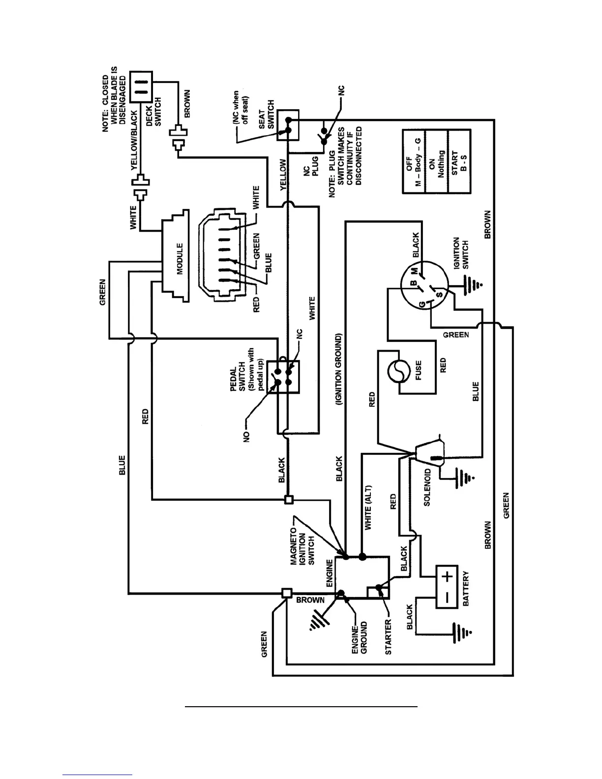
WIRING SCHEMATIC
WIRING SCHEMATIC FOR 16 HP BRIGGS ENGINE
MANUAL No. 06130 42” MODEL R. E. RIDER SERIES 22

Other manuals for Snapper 421622BVE

Related product manuals