EasyManua.ls Logo

socomec COUNTIS E53 - Resetting Parameters

socomec COUNTIS E53
76 pages
Print Icon
To Next Page IconTo Next Page
To Next Page IconTo Next Page
To Previous Page IconTo Previous Page
To Previous Page IconTo Previous Page
Loading...
27
COUNTIS E50/E53 - Ref.: 536 419 A
COUNTIS E50/E53
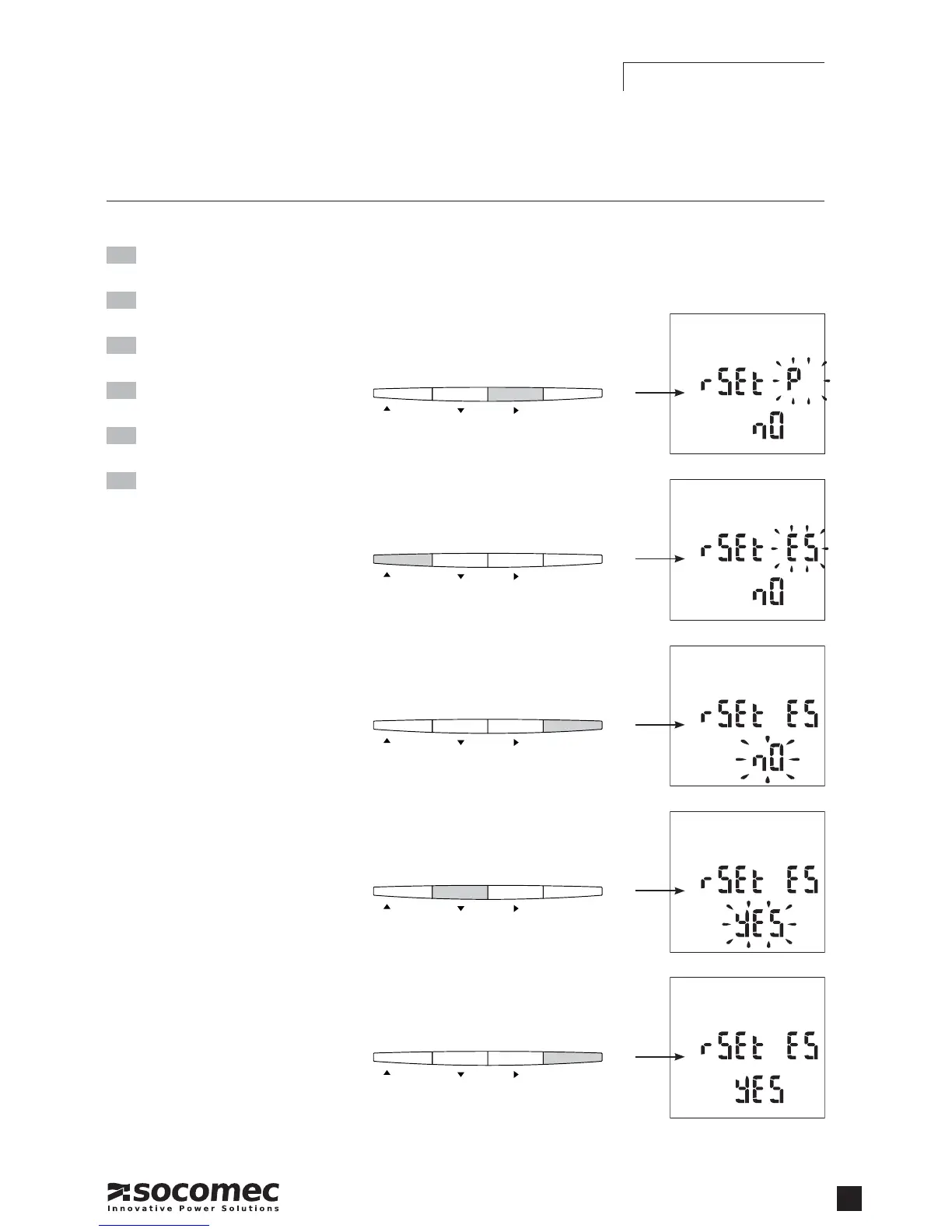
REMISE À ZÉRO (Exemple : rSET = Es)
PROG
OK
UI
P PF
E
/ TEST
PROG
OK
UI
P PF
E
/ TEST
PROG
OK
UI
P PF
E
/ TEST
x 1 (Ea)
x 2 (Er)
x 3 (Es)
x 4 (E tariff)
x 5 (P)
PROG
OK
UI
P PF
E
/ TEST
PROG
OK
UI
P PF
E
/ TEST
x 1
x 1
x 1
x 1
FRQðUP
GB
Reset to zero
Example : rSET = Es
D
5ÙFNVWHOOXQJHQ
Beispiel: rSET = Es
I
Azzeramento
Esempio: rSET = Es
NL
Reset
Voorbeeld: rSET = Es
E
Volver a cero
Ejemplo: rSET = Es
P
Colocações a zero
Exemplo: rSET = Es
PROGRAMMATION

Related product manuals