EasyManua.ls Logo

socomec COUNTIS E53 - Page 34

socomec COUNTIS E53
76 pages
Print Icon
To Next Page IconTo Next Page
To Next Page IconTo Next Page
To Previous Page IconTo Previous Page
To Previous Page IconTo Previous Page
Loading...
34
COUNTIS E50/E53 - Ref.: 536 419 A
COUNTIS E50/E53
PROGRAMMATION
PROGRAMMING - KONFIGURATION - PROGRAMMAZIONE -
PROGRAMMERING- PROGRAMACIÓN - PROGRAMAÇÃO
PROG
OK
UI
P PF
E
/ TEST
x1 (odd)
x2 (EvEn)
x3 (nO)
x 1
FRQðUP
PROG
OK
UI
P PF
E
/ TEST
PROG
OK
UI
P PF
E
/ TEST
x 1
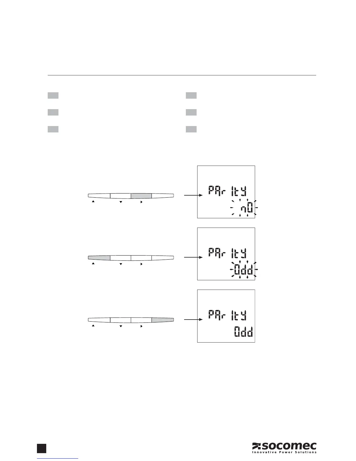
PARITE DE COMMUNICATION - Exemple : PArItY = odd
GB
Communication parity
Example : PArItY = odd
D
Paritä
Beispiel: PArItY = odd
I
Parità di comunicazione
Esempio: PArItY = odd
NL
Communicatie pariteit
Voorbeeld: PArItY = odd
E
Paridad de comunicación
Ejemplo: PArItY = odd
P
Paridade de comunicação
Exemplo: PArItY = odd

Related product manuals