EasyManua.ls Logo

Sony CDP-XA20ES - Page 8

Sony CDP-XA20ES
44 pages
Print Icon
To Next Page IconTo Next Page
To Next Page IconTo Next Page
To Previous Page IconTo Previous Page
To Previous Page IconTo Previous Page
Loading...
– 8 –
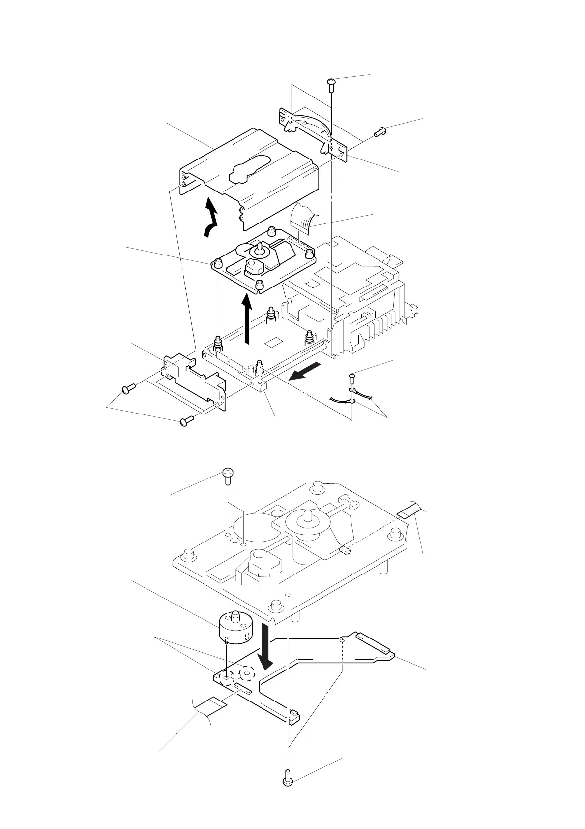
BASE UNIT
1
pull the tray
2
four screws
(BVTP 3
×
8)
3
cover (F) (drawer)
4
two screws
(BVTP 3
×
8)
5
panel (drawer)
6
two screws
(BVTP 3
×
8)
7
cover (R) (drawer)
8
wire (flat type) (21 core)
(CN104)
9
screw
(BVTP 3
×
8)
0
two lugs
base unit
(BU-14C)
1
wire (flat type) (16 core)
(CN104)
2
wire (flat type) (5 core)
(CN107)
3
Removal the two solders
of sled motor.
4
two screws
(BVTP 2.6
×
8)
5
sled board
6
two screws
(P1.7
×
2.5)
7
sled motor
(M101)
SLED MOTOR (M101)

Related product manuals