EasyManua.ls Logo

Sony CFD-C1000 - Power Board; Mechanism Deck Block

Sony CFD-C1000
20 pages
Print Icon
To Next Page IconTo Next Page
To Next Page IconTo Next Page
To Previous Page IconTo Previous Page
To Previous Page IconTo Previous Page
Loading...
7
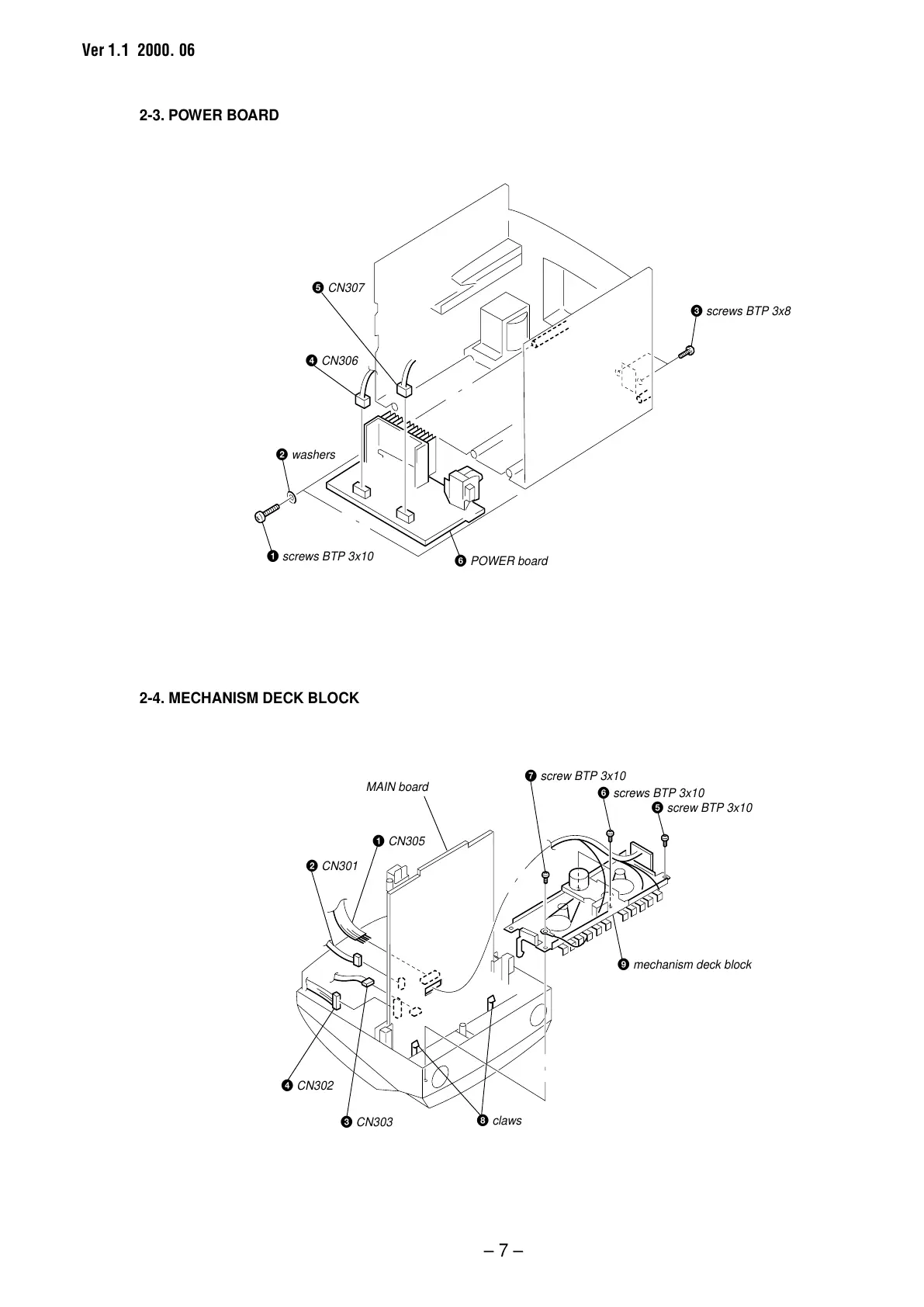
2-3. POWER BOARD
2-4. MECHANISM DECK BLOCK
5 screw BTP 3x10
6 screws BTP 3x10
7 screw BTP 3x10
9 mechanism deck block
1 CN305
2 CN301
4 CN302
3 CN303
8 claws
MAIN board
1 screws BTP 3x10
2 washers
4 CN306
5 CN307
3 screws BTP 3x
8
6 POWER board
Ver 1.1 2000. 06
All manuals and user guides at all-guides.com

Related product manuals