EasyManua.ls Logo

Sony DCR-HC19E - Page 73

Sony DCR-HC19E
133 pages
Print Icon
To Next Page IconTo Next Page
To Next Page IconTo Next Page
To Previous Page IconTo Previous Page
To Previous Page IconTo Previous Page
Loading...
64
DCR-HC32/HC42 2-584-906-11(1)
viewfinder.
For DCR-HC42:
When you attach an external microphone
(optional) to the Active Interface Shoe,
you can check the picture and the sound by
connecting your camcorder to a TV using the
A/V connecting cable. However, sound you are
recording afterwards is not output from your
camcorder. Check the sound using a TV or
other device.
Do not connect A/V connecting cables to both
your camcorder and the Handycam Station at
the same time. The sound may be distorted.
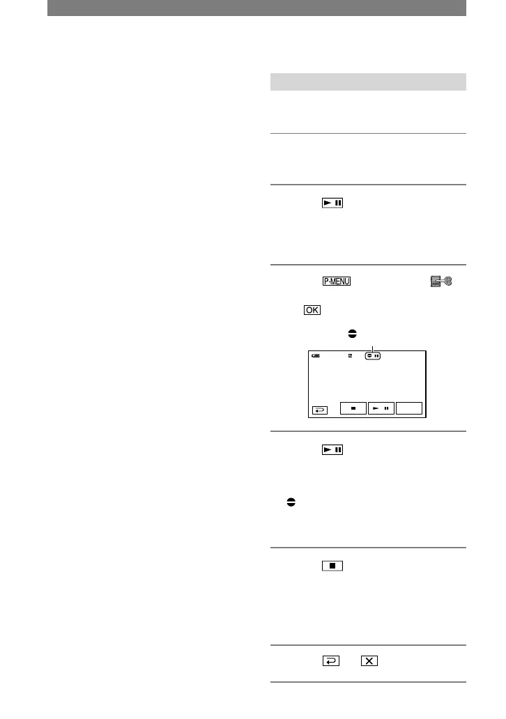
Recording sound
Insert a recorded cassette into your
camcorder beforehand.
1 Slide the POWER switch down to
turn on the PLAY/EDIT lamp.
2 Touch (Play/Pause) to play
back the tape, then touch it again
at the point where you want to
start recording the sound.
3 Touch [MENU]
(EDIT/PLAY) [AUD DUB CTRL]
[AUDIO DUB].
appears
0: 00: 0 0: 0 060min
AUD DUB CTRL
AUDIO
DUB
4 Touch (play) and start
playing back the audio you want
to record at the same time.
appears while recording the new
sound in stereo 2 (ST2) during the
playback of the tape.
5 Touch (stop) when you want
to stop recording.
To dub on other scenes, repeat step 2
to select scenes, then touch [AUDIO
DUB].
6 Touch .
Dubbing sound to a recorded tape
(continued)

Table of Contents

Related product manuals