EasyManua.ls Logo

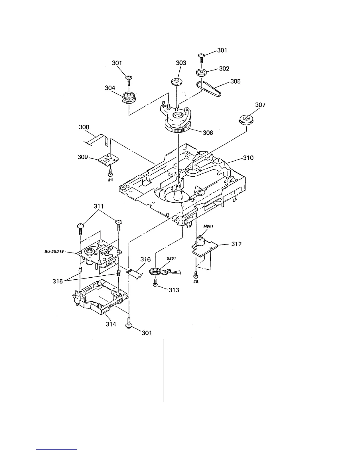
Sony HCD-H331 - CDM Chassis Section Exploded View

Sony HCD-H331
46 pages
Print Icon
To Next Page IconTo Next Page
To Next Page IconTo Next Page
To Previous Page IconTo Previous Page
To Previous Page IconTo Previous Page
Loading...
– 54 –
Ref. No. Part No. Description Remark Ref. No. Part No. Description Remark
––––––– ––––––– –––––––––– ––––––– ––––––– ––––––– –––––––––– ––––––
301 4-917-583-21 BRACKET, YOKE
302 4-977-954-01 PULLEY (SL)
303 4-977-953-01 GEAR (SL-A)
304 4-977-955-01 GEAR (SL-B)
305 4-977-942-01 BELT (SL) (1.4)
306 X-4946-667-1 CAM ASSY, BU
307 1-452-538-11 MAGNET
308 1-776-042-11 WIRE (FLAT TYPE) (8 CORE)
* 309 1-658-575-11 CONNECTOR BOARD
* 310 X-4946-668-1 CHASSIS (CDM) ASSY
311 4-933-134-01 SCREW (+PTPWH M2.6X6)
* 312 1-658-578-11 MOTOR (SLIDE) BOARD
313 4-951-620-41 SCREW (2.6), +BVTP
* 314 X-4946-666-1 HOLDER (BU) ASSY
315 4-982-447-01 SPRING (BU), COMPRESSION
316 1-776-442-11 WIRE (FLAT TYPE) (19 CORRE)
M801 A-4660-586-A MOTOR ASSY (SLIDE)
S851 1-473-335-11 ENCODER, ROTARY
8-7. CDM CHASSIS SECTION
(CDM38-5BD19)

Related product manuals