EasyManua.ls Logo

Sony HCD-H331 - Disc Table Assy Section Exploded View

Sony HCD-H331
46 pages
Print Icon
To Next Page IconTo Next Page
To Next Page IconTo Next Page
To Previous Page IconTo Previous Page
To Previous Page IconTo Previous Page
Loading...
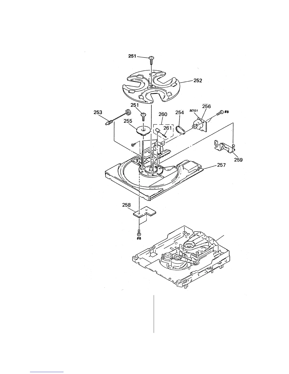
– 53 –
Ref. No. Part No. Description Remark Ref. No. Part No. Description Remark
––––––– ––––––– –––––––––– ––––––– ––––––– ––––––– –––––––––– ––––––
251 4-917-583-21 BRACKET, YOKE
252 4-977-945-01 TRAY (TURN)
253 X-4946-665-2 SHAFT ASSY, WORM
254 4-977-943-01 BELT (TURN) (1.2)
255 4-977-956-01 WHEEL, WORM
* 256 1-658-577-11 MOTOR (TURN) BOARD
257 4-977-944-01 TRAY (SEIDE)
* 258 1-658-576-11 SENSOR BOARD
259 4-977-941-01 BEARING (WORM)
260 X-4924-457-1 ROLLER ASSY
261 4-934-376-01 SHAFT (ROLLER)
M701 A-4660-586-A MOTOR ASSY (TURN)
8-6. DISC TABLE ASSY SECTION
(CDM38-5BD19)
CDM38-5BD19
#10

Related product manuals