EasyManua.ls Logo

Sony HCD-W55 - Base Unit Section

Sony HCD-W55
38 pages
Print Icon
To Next Page IconTo Next Page
To Next Page IconTo Next Page
To Previous Page IconTo Previous Page
To Previous Page IconTo Previous Page
Loading...
– 44 –
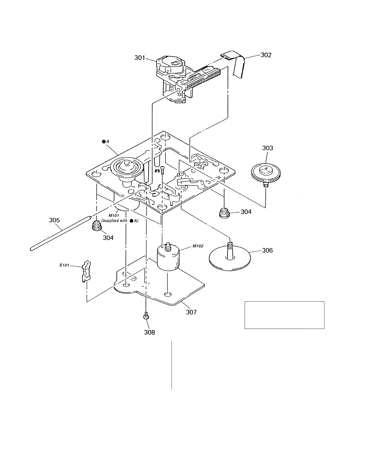
Ref. No. Part No. Description Remark Ref. No. Part No. Description Remark
––––––– ––––––– –––––––––– ––––––– ––––––– ––––––– –––––––––– ––––––
! 301 8-848-367-11 DEVICE, OPTICAL KSS-213B/K-N
302 1-769-069-11 WIRE (FLAT TYPE) (16 CORE)
303 4-917-567-01 GEAR (M)
304 4-951-940-01 INSULATOR (BU)
305 4-917-565-01 SHAFT, SLED
306 4-917-564-01 GEAR (P), FLATNESS
* 307 A-4673-402-A BD BOARD, COMPLETE
308 4-951-620-01 SCREW (2.6X8), +BVTP
M101 X-4917-523-4 BASE (OUTSERT) ASSY (SPINDLE MOTOR)
M102 X-4917-504-1 MOTOR ASSY (SLED MOTOR)
S101 1-572-085-11 SWITCH, LEAF (LIMIT SW)
6-7. BASE UNIT SECTION
(BU-5BD19)
The components identified by mark
! or dotted line with mark ! are criti-
cal for safety.
Replace only with part number speci-
fied.

Related product manuals