EasyManua.ls Logo

Sony mxp-29 - Page 45

Sony mxp-29
79 pages
Print Icon
To Next Page IconTo Next Page
To Next Page IconTo Next Page
To Previous Page IconTo Previous Page
To Previous Page IconTo Previous Page
Loading...
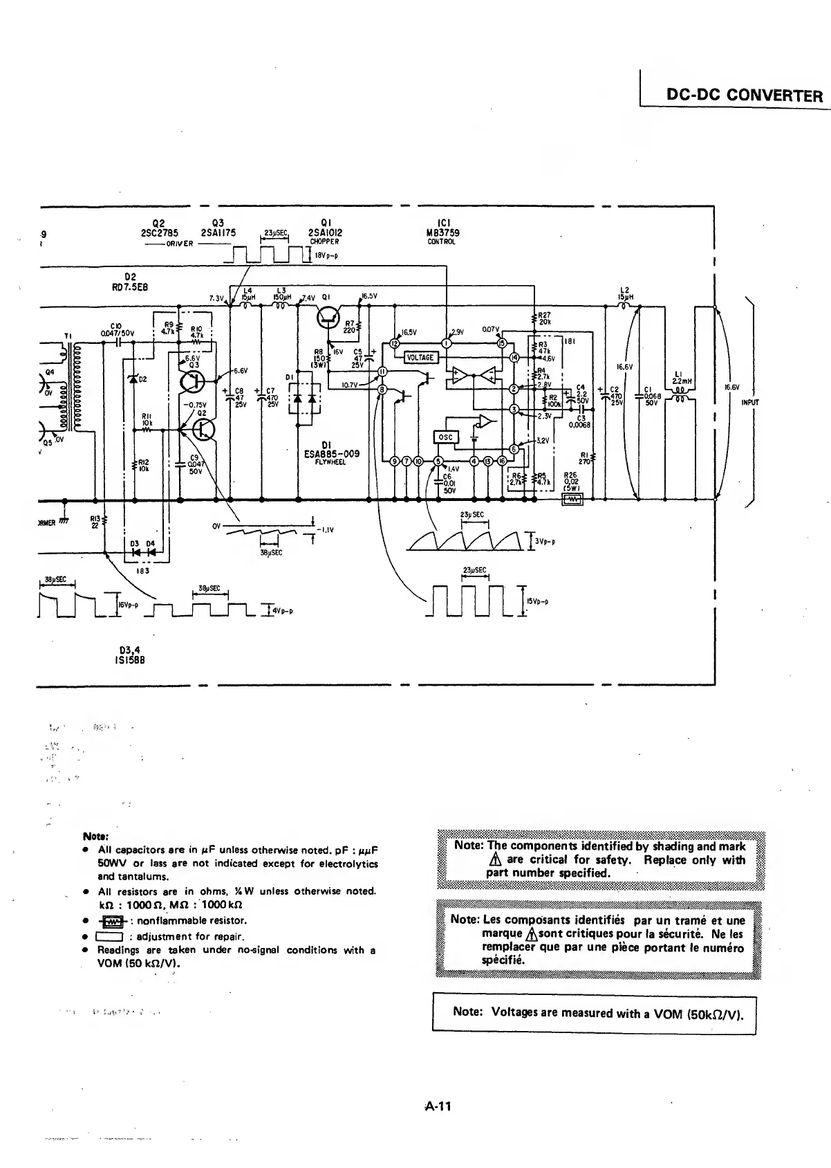
DC-DC
CONVERTER
\
INPUT
/
Not*:
All
capacitors are
in
p
F
unless
otherwise
noted. pF
:
ppF
SOWV or less are not indicated
except for
electrolytics
and tantalums.
All
resistors
are
in ohms, 54 W unless
otherwise noted,
kn
: 10000,
Mn
: lOOOkO
:
nonflammable
resistor.
I I
:
adjustment
for
repair.
Readings
are
taken
under no-signal
conditions
with
a
VOM (50 kn/V).
Note:
The components
identified
by
shading and mark
j|i
II
A
are
critical
for
safety. Replace
only with
f
||
part
number
specified.
§§
$
-
- -
- *
'
'
' .
'<
,
; m
-
k %
;
||
Note: Les
composants
identifies
par un
frame et une
§
L
marque
^sont critiques
pour la
securite. Ne les
i
remplacer que
par une
piece
portant le numero
8
Note:
Voltages
are
measured
with
a
VOM
(50kfi/V).
A-11

Related product manuals