EasyManua.ls Logo

Sony Trinitron PVM-1271Q - Page 8

Sony Trinitron PVM-1271Q
50 pages
Print Icon
To Next Page IconTo Next Page
To Next Page IconTo Next Page
To Previous Page IconTo Previous Page
To Previous Page IconTo Previous Page
Loading...
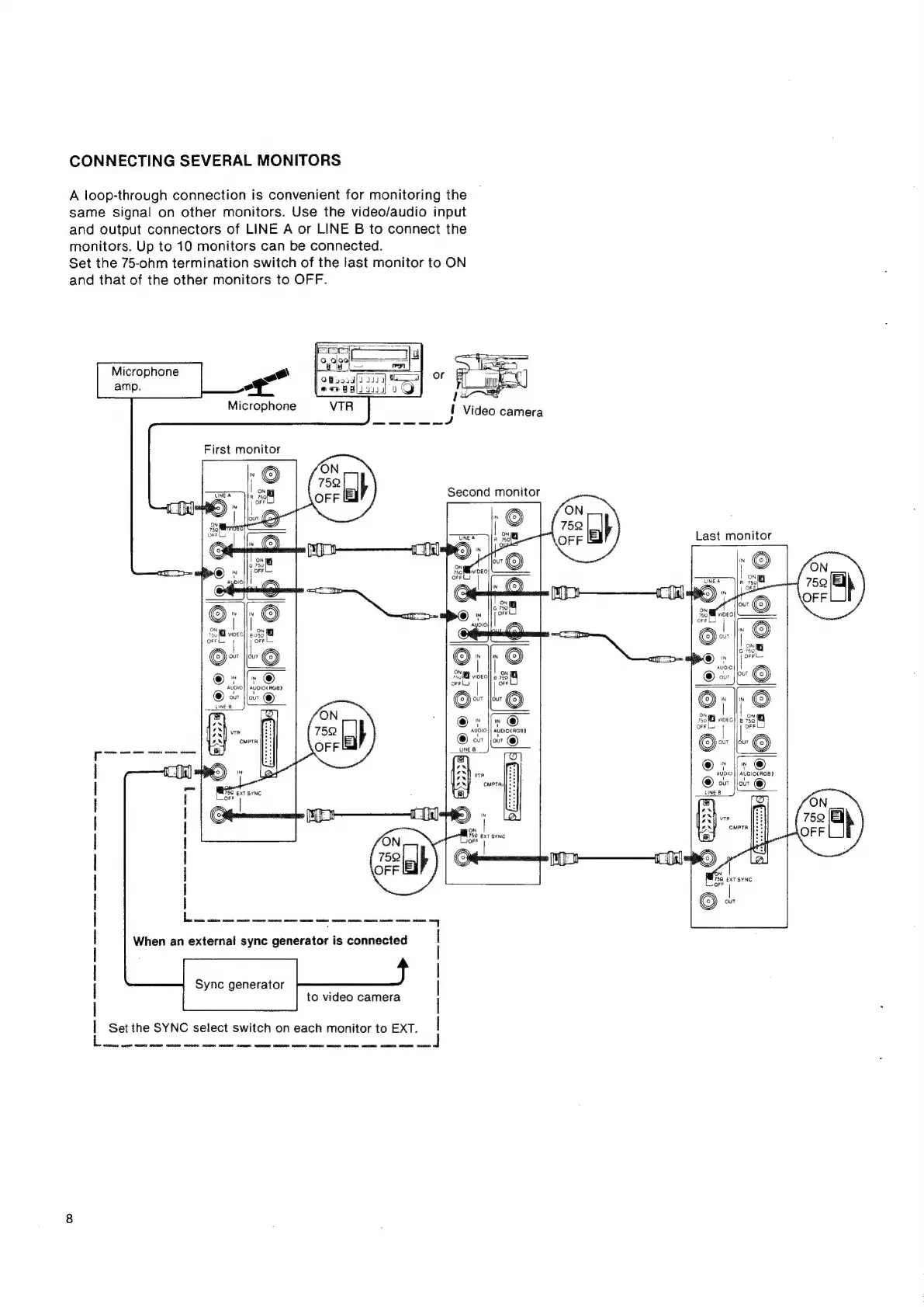
CONNECTING
SEVERAL
MONITORS
A
loop-through
connection
is
convenient
for
monitoring
the
same
signal
on
other
monitors.
Use
the
video/audio
input
and
output
connectors
of
LINE
A
or
LINE
B
to
connect
the
monitors.
Up
to
10
monitors
can
be
connected.
Set
the
75-ohm
termination
switch
of
the
last
monitor
to
ON
and
that
of
the
other
monitors
to
OFF.
Microphone
amp.
OByaag[2
414)
&&4
or
essalians
»)
Q
ONG
701
viceo||
@
235
‘a
:
Oe
©
7
IN
t
AUDIO
Last
monitor
|
©
S39
322
Ca
©
©
©
9
2
Cee
Seo
ROE
Cal

Other manuals for Sony Trinitron PVM-1271Q

Related product manuals