EasyManua.ls Logo

Sony TRV315 - Inserting a Scene from a VCR; Replacing Recording on a Tape - Insert Editing

Sony TRV315
84 pages
Print Icon
To Next Page IconTo Next Page
To Next Page IconTo Next Page
To Previous Page IconTo Previous Page
To Previous Page IconTo Previous Page
Loading...
52
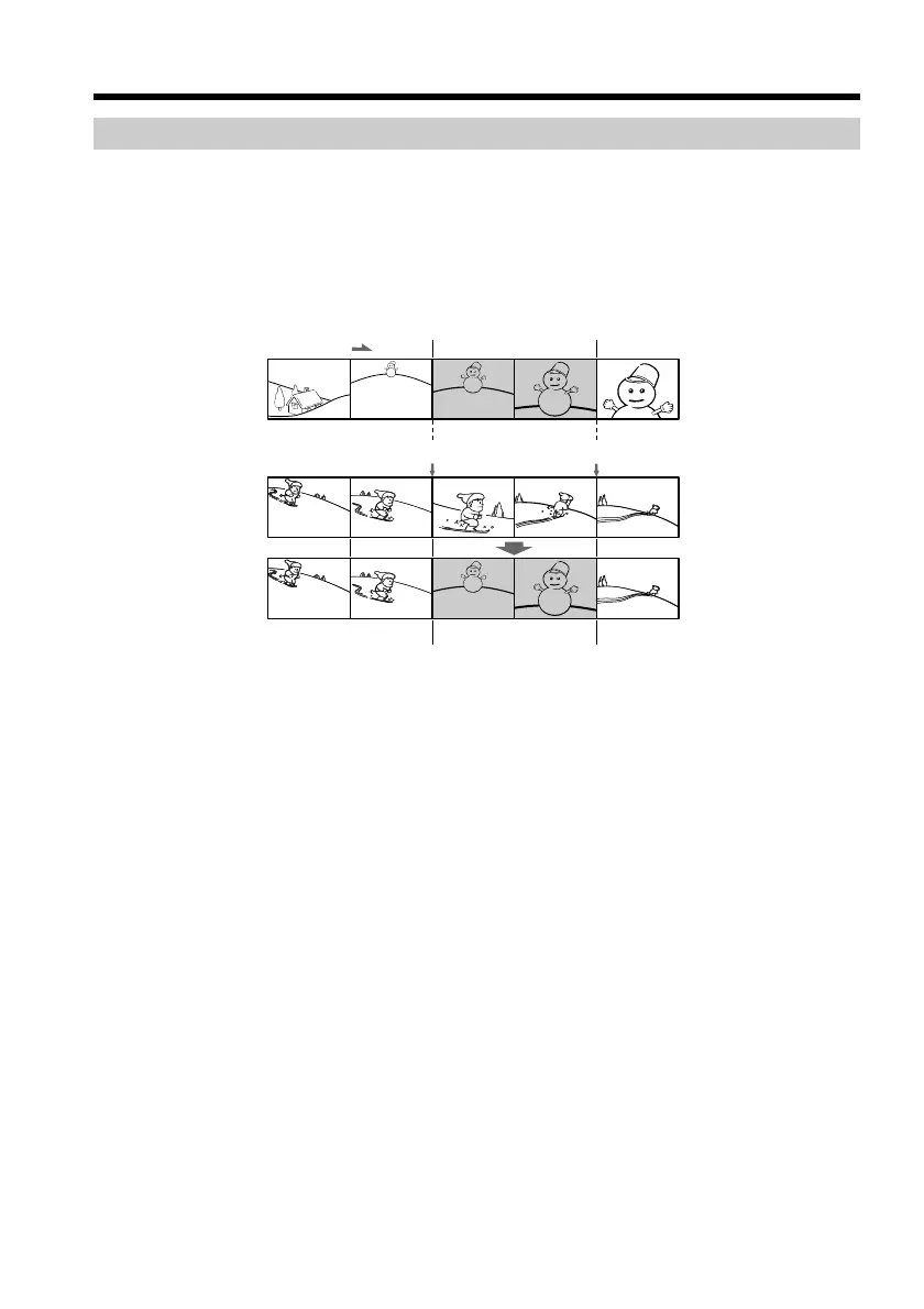
Inserting a scene from a VCR
Replacing recording on a tape – Insert Editing
You can insert a new scene from a VCR onto your originally recorded tape by
specifying the insert start and end points. Use the Remote Commander for this
operation. Connections are the same as in “Recording video or TV programs” on
page 51.
Insert a cassette containing the desired scene to insert into the VCR.
[a]
[b]
[c]

Table of Contents

Related product manuals