EasyManua.ls Logo

Sony UWP-V1 - Power Indicator

Sony UWP-V1
72 pages
Print Icon
To Next Page IconTo Next Page
To Next Page IconTo Next Page
To Previous Page IconTo Previous Page
To Previous Page IconTo Previous Page
Loading...
37
Parts Identification
a Power indicator
Lights up green when the microphone is
turned on.
b POWER switch
Turns the power of the microphone ON or
OFF.
c Battery compartment
Accommodates two LR6 (size AA) alkaline
batteries.
For details on how to insert the batteries, see
“Power Supply” on page 42.
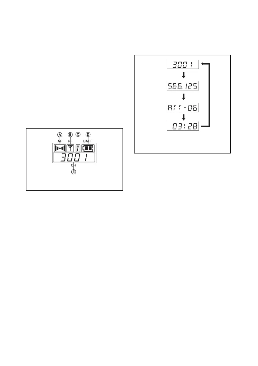
d Display section
A AF (audio frequency) indication
Appears whenever the input audio signal is
stronger than the reference level.
B RF (radio frequency) indication
Appears during signal transmission from
the antenna.
C RF (radio frequency) level
indication
Shows the RF output level setting.
For details, see “Setting the RF output power level”
on page 55.
D BATT (battery) indication
Shows the battery condition.
For details, see “Battery indication” on page 43.
E CH (channel) indication
Shows the transmission channel. Each time
you press the SET button in transmission
mode, the channel indication changes as
follows.
For details, see “Transmitter Settings” on page 54.
e + (+ selection) / – (– selection/reset)
buttons
Press these buttons to set the transmission
channel, frequency, or attenuation level of
the input signal.
The “–” button resets the accumulated use
time to “00:00”.
f SET button
Press to change and enter display
parameters.
For details, see “Transmitter Settings” on page 54.
The channel indication (E) for U30
model is shown.
Transmission
channel
Transmission
frequency
Accumulated
use time
Attenuation
level of the
input signal
The channel/frequency indications for
U30 model are shown.
Press
the
SET
button.

Table of Contents

Other manuals for Sony UWP-V1

Related product manuals