EasyManua.ls Logo

Soundstream Reference 200 - LSE.Q Theory and Use

Soundstream Reference 200
20 pages
Print Icon
To Next Page IconTo Next Page
To Next Page IconTo Next Page
To Previous Page IconTo Previous Page
To Previous Page IconTo Previous Page
Loading...
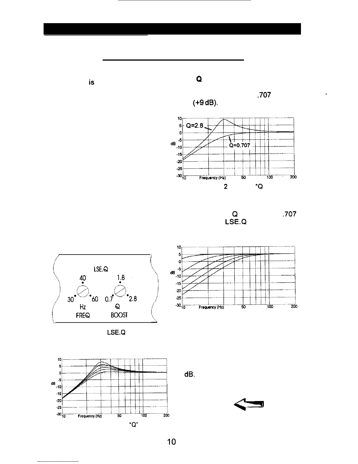
LSE.Q
is
a unique subwoofer
control circuit included with the
SOUNDSTREAM REFERENCE500
amplifier. It is capable of removing
subsonic energy in program material.
The circuit consists of two controls.
One adjusts the frequency of
operation and the other adjusts the
range of boost, With both controls
adjusted fully counter-clockwise, no
boost is applied and the amplifier is
flat in response down to 20 Hz.
The
frequency control (Hz)
adjusts
the starting point of the subsonic
filter. This high pass filter can be
adjusted from 20 Hz up to a
maximum of 60 Hz. This control is
useful for setting the lowest
frequency that your subwoofer will
see. (See figure 1)
/
I
i
LSE.Q
\
dB
(
FEa
B&T
(
FIG. 1
LSEQ
FIG. 4 Variable
“Q”
The
Q
control adjusts the amount of
boost applied at the set frequency.
This is adjustable from
.707
(flat) to
2.8 (+9
dB).
(See figure 2)
.
dB
FIG.
2
Variable
‘Q
When the
Q
is set to
.707
(Butterworth), LSE.Q acts as a sub-
sonic filter only. (See figure 3)
LSE.Q THEORY AND USE
FIG. 3 Variable High Pass
The simple act of removing the signal
below the vented tuning frequency can
improve system output by as much as
3
dB.
With Q values greater than
,707, boost is added in addition to the
sub-sonic filter. (see figure 4)

Related product manuals