EasyManua.ls Logo

Soundstream Reference 200 - Series and Parallel Wiring

Soundstream Reference 200
20 pages
Print Icon
To Next Page IconTo Next Page
To Next Page IconTo Next Page
To Previous Page IconTo Previous Page
To Previous Page IconTo Previous Page
Loading...
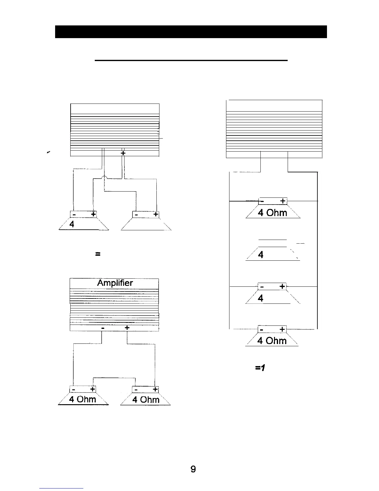
SERIES AND PARALLEL WIRING
Below are examples of series and parallel wiring configurations. Please note
how the impedances differ with the different configurations.
Amplifier
i
r
+
r-P%7
jidl
Jkk&
;“4
Ohm
“1
/
4 Ohm
“\,,
2-4
ohm drivers in parallel
=
2 ohms
Amplifier
+
_I
-
/“4
Oh;
‘>
~
?-
+(
/‘4
Ohm
‘\‘,
4-4 ohm drivers in parallel
=I
ohm
2-4 ohm drivers in series
= 8 ohms
9

Related product manuals