EasyManua.ls Logo

Stack-On GCB-18C - Page 10

Stack-On GCB-18C
21 pages
Print Icon
To Next Page IconTo Next Page
To Next Page IconTo Next Page
To Previous Page IconTo Previous Page
To Previous Page IconTo Previous Page
Loading...
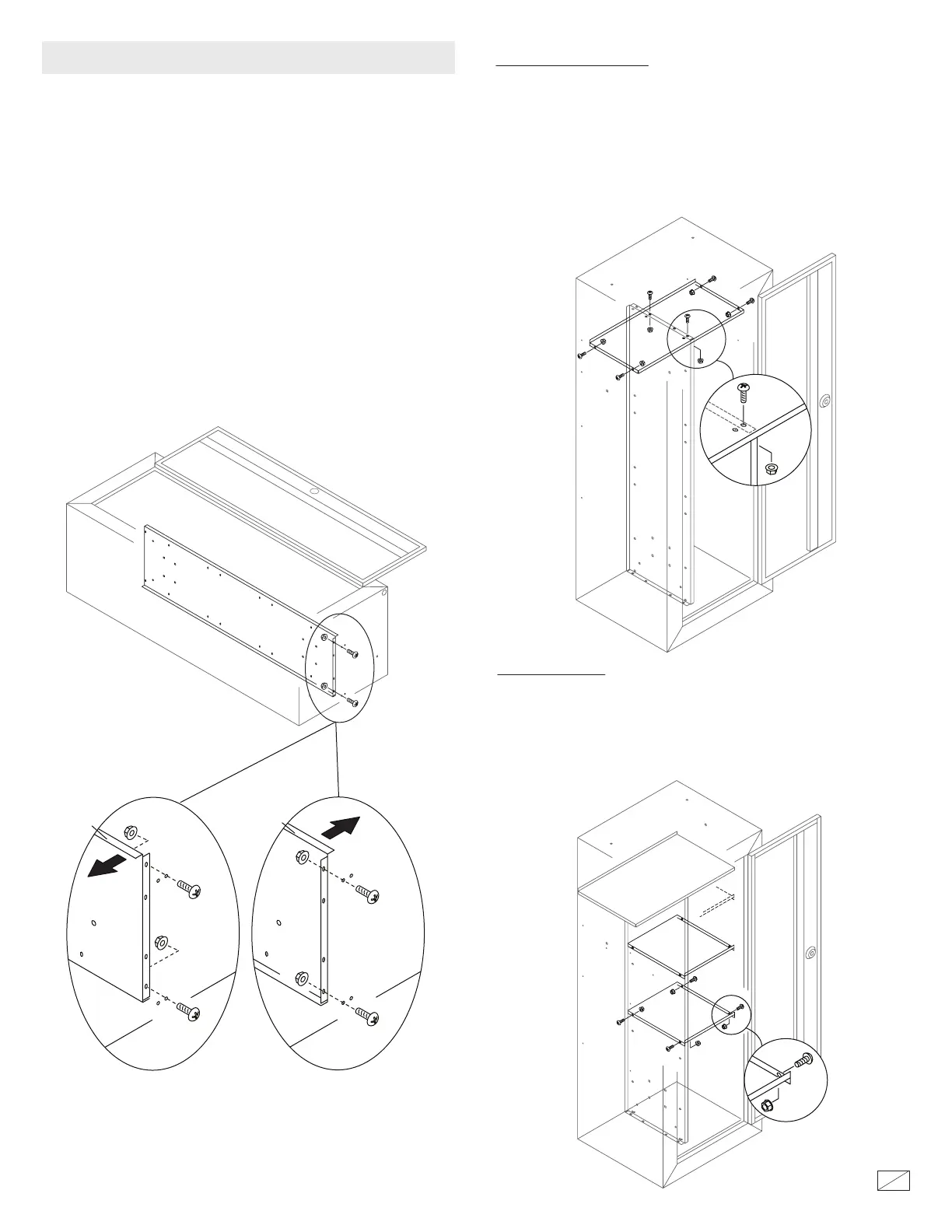
LES ÉTAGÈRES DOIVENT ÊTRE POSÉES AVANT DE FIXER
LARMOIRE AU MUR ET PLANCHER.
POSE DES ÉTAGÈRES
Pose de l’étagère du haut
Cloison centrale
Vous avez le choix entre 3 emplacements pour monter les étagères.
Vous avez également le choix d'avoir la bride avant de la tablee pour
pointer vers le haut ou vers le bas. Choisissez un emplacement et
d'assembler chaque étagère pour le panneau central et le côté de
l'armoire au moyen de 4 vis et écrous.
Pose des étagères
Posez l’armoire sur le dos sur une surface protégée.
Installer et serrer les 2 écrous et des boulons, comme illustré.
Placez la cloison verticale avec soin an d’aligner les trous dans le fond.
On peut poser la cloison centrale de deux façons. Vous pouvez orienter
la bordure avant vers le côté où vous souhaitez xer les étagères
(comme illustré). Il y a également deux ensembles de trous de xation.
Alignez la bordure inférieure de la cloison centrale pour que la paroi
verticale soit centrée entre les trous de xation. Ainsi, la cloison sera
exactement au centre de l’armoire et il y aura susamment d’espace
pour poser les étagères des deux côtés.
21
10
40112-1309
Le plateau supérieur a 2 jeux de trous pour xer la cloison centrale.
Utilisez l'ensemble des trous qui permeront à la partition à être
centré entre les 2 trous. Cela permera d'assurer qu'il y ait un
espacement adéquat pour l'installation du plateau des deux côtés.
Positionner la tablee de sorte que le devant et le côté brides pointe
vers le bas. Assemblez l'étagère du haut de la cloison centrale et les
côtés de l'armoire à l'aide de 6 vis et écrous.
BORDURE
AVANT
BORDURE
AVANT

Related product manuals