EasyManua.ls Logo

Stack-On GCB-18C - Cabinet Assembly Procedures; Center Partition Assembly; Top Shelf Assembly; Shelf Assembly

Stack-On GCB-18C
21 pages
Print Icon
To Next Page IconTo Next Page
To Next Page IconTo Next Page
To Previous Page IconTo Previous Page
To Previous Page IconTo Previous Page
Loading...
FRONT
FLANGE
FRONT
FLANGE
SHELVES MUST BE INSTALLED BEFORE MOUNTING THE
CABINET TO A WALL AND FLOOR.
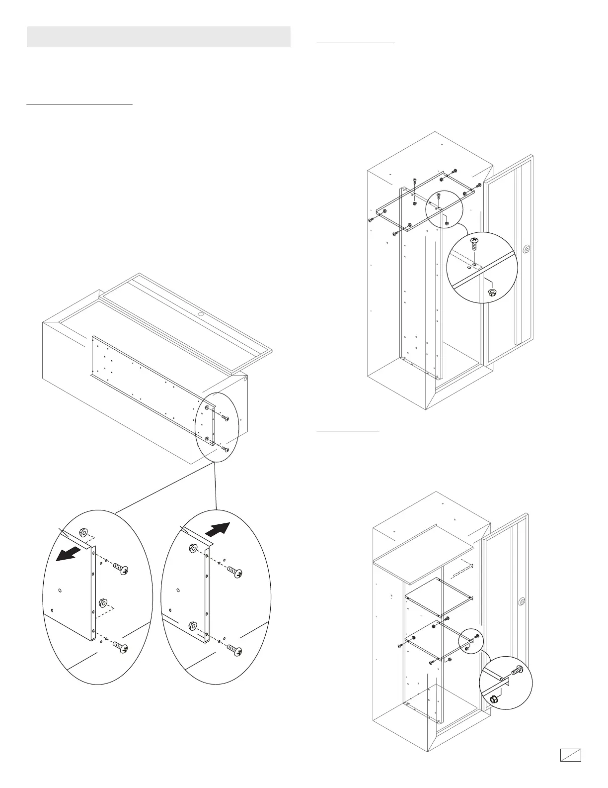
INSTALLATION OF SHELVES
Top Shelf Assembly
Center Partition Assembly
You have the choice of 3 locations for mounting the shelves. You also
have the choice of having the front ange of the shelf to point up or
down. Select a location and assemble each shelf to the center panel
and cabinet side using 4 nuts and bolts.
Shelf Assembly
Lay the cabinet on its back on a protective surface.
Install and tighten the 2 nuts and bolts as shown.
Position the Vertical Partition carefully to align the holes on the
boom. e Center Partition has two possible positions. You should
face the front ange towards the side you want to mount the shelves
(See illustration below). ere are also two sets of mounting holes.
Line up the boom ange of the Center Partition so that the vertical
wall of the Partition is centered between the mounting holes. is will
ensure that the partition is in the exact center of the cabinet, and that
there is proper spacing for the shelf installation on both sides.
21
3
40112-1309
e top shelf has 2 sets of holes for aaching the center partition. Use
the set of holes that will allow the partition to be centered between the
2 holes. is will ensure that there is proper spacing for the shelf
installation on both sides. Position the shelf so the front and side
anges point down. Assemble the top shelf to the center partition and
the sides of the cabinet using 6 nuts and bolts.

Related product manuals