EasyManua.ls Logo

stellar labs 4500 - Hydraulic Kit Components

Default Icon
46 pages
Print Icon
To Next Page IconTo Next Page
To Next Page IconTo Next Page
To Previous Page IconTo Previous Page
To Previous Page IconTo Previous Page
Loading...
Stellar 4500 Manual
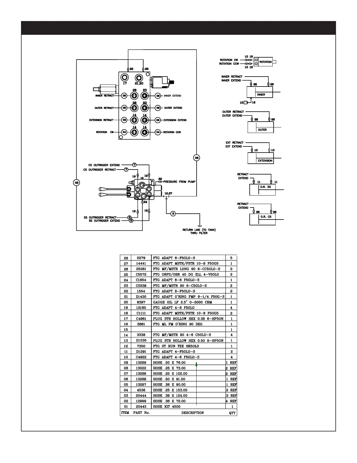
8-4
PN 20441
49315
SWITCH PRES OVERLD CD-11C-2900R/WD
Hydraulic Kit - PN 20441

Related product manuals