EasyManua.ls Logo

Stihl FS 500 - Fuel Requirements; Fuel Type and Mixture; Gasoline Quality

Stihl FS 500
90 pages
To Next Page IconTo Next Page
To Next Page IconTo Next Page
To Previous Page IconTo Previous Page
To Previous Page IconTo Previous Page
Loading...
23FS 500, FS 550
English / USA
Grass cutting blade 255-8
Brush knife 350-3
Brush knife 350-3 "Special"
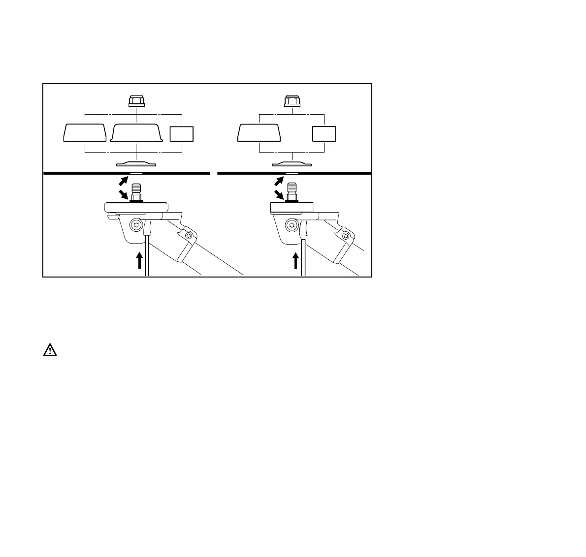
: Place the cutting tool (1) in position.
Collar (see arrow) must engage the
cutting tool’s mounting hole.
Cutting edges on grass cutting blade
255-8 and the circular saw blades must
point clockwise.
: Fit thrust washer (2) – convex side
must face up.
For mowing:
: Fit rider plate (3) for mowing.
Circular saw blades 225
Circular saw blade 230
Circular saw blade 250
For sawing:
: Fit rider plate (5) for sawing.
: Block the output shaft.
: Screw on nut (4) counterclockwise
and tighten down firmly.
Removing the cutting tool
: Block the output shaft.
: Unscrew the nut clockwise.
If the mounting nut is too loose (cannot
be tightened properly), fit a new one.
This engine is certified to operate on
unleaded gasoline and the STIHL two-
stroke engine oil at a mix ratio of 50:1.
Your two-stroke engine requires a
mixture of high-quality gasoline and
quality two-stroke air cooled engine oil.
Use mid-grade unleaded gasoline with a
minimum octane rating of 89 (R+M/2). If
the octane rating of the mid-grade
gasoline in your area is lower, use
premium unleaded fuel.
Fuel with a lower octane rating may
increase engine temperatures. This, in
turn, increases the risk of piston seizure
and damage to the engine.
The chemical composition of the fuel is
also important. Some fuel additives not
only detrimentally affect elastomers
(carburetor diaphragms, oil seals, fuel
lines, etc.), but magnesium castings and
catalytic converters as well. This could
cause running problems or even
damage the engine. For this reason
STIHL recommends that you use only
nationally recognized high-quality
unleaded gasoline!
1
3
3
2
1
3
4
4
5
5
2
398BA050 KN
Fuel

Table of Contents

Related product manuals