EasyManua.ls Logo

Stihl FS 500 - Combustible

Stihl FS 500
90 pages
To Next Page IconTo Next Page
To Next Page IconTo Next Page
To Previous Page IconTo Previous Page
To Previous Page IconTo Previous Page
Loading...
67FS 500, FS 550
español / EE.UU
Cuchilla para pasto 255-8
Cuchilla para matorrales 350-3
Cuchilla para matorrales 350-3
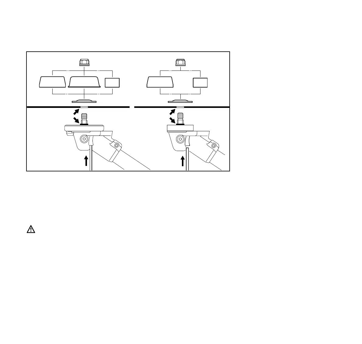
"especial"
: Coloque la herramienta de corte (1)
en posición.
El collar (vea la flecha) debe enca-
jar en el agujero de montaje de la
herramienta de corte.
Los bordes cortantes de la cuchilla de
cortar pasto 255-8 y las sierras circula-
res deben apuntar en sentido horario.
: Coloque la arandela de empuje (2)
– el lado convexo debe quedar
hacia arriba.
Para segar:
: Coloque la placa de refuerzo (3) en
la posición para segar.
Sierras circulares 225
Sierra circular 230
Sierra circular 250
Para aserrar:
: Coloque la placa de refuerzo (5) en
la posición para aserrar.
: Bloquee el eje de salida.
: Atornille la tuerca (4) en sentido
contrahorario y apriétela firme-
mente.
Retiro de la herramienta de corte
: Bloquee el eje de salida.
: Destornille la tuerca en sentido
horario.
Si la tuerca de montaje está demasiado
floja (no se puede apretar correcta-
mente), instale una nueva.
Este motor está certificado para funcio-
nar con una mezcla de 50 a 1 de gaso-
lina sin plomo y aceite STIHL para moto-
res de dos tiempos.
Su motor de dos tiempos requiere una
mezcla de gasolina de calidad y aceite
de calidad para motores de dos tiempos
enfriados por aire.
Use gasolina sin plomo regular con un
octanaje mínimo de 89 (R+M/2). Si el
octanaje de la gasolina regular en su
zona es más bajo, use combustible sin
plomo superior.
El combustible de octanaje bajo puede
aumentar la temperatura de funciona-
miento del motor. Esto, a su vez,
aumenta el riesgo de que se agarrote el
pistón y se dañe el motor.
La composición química del combusti-
ble también es importante. Algunos adi-
tivos de combustible no solamente tie-
nen efectos perjudiciales en los
elastómeros (diafragmas de carburador,
sellos de aceite, tuberías de combusti-
ble, etc.), sino también en las piezas
fundidas de magnesio y en los converti-
dores catalíticos. Esto podría causar
problemas de funcionamiento e incluso
daño del motor. Por esta razón, STIHL
recomienda el uso exclusivo de gasolina
sin plomo de buena calidad.
1
3
3
2
1
3
4
4
5
5
2
398BA050 KN
Combustible

Table of Contents

Related product manuals